授权公布号:CN217561150U
一种地板锁合力检测用试验机
有效
申请
2021-12-31
申请公布
1970-01-01
授权
2022-10-11
预估到期
2031-12-31
| 申请号 | CN202123453658.2 |
| 申请日 | 2021-12-31 |
| 授权公布号 | CN217561150U |
| 授权公告日 | 2022-10-11 |
| 分类号 | G01N3/08;G01N3/04 |
| 分类 | 测量;测试; |
| 申请人名称 | 苏州大卫木业有限公司 |
| 申请人地址 | 江苏省苏州市吴江区桃源镇梵香工业区 |
专利法律状态
2022-10-11
授权
状态信息
授权
摘要
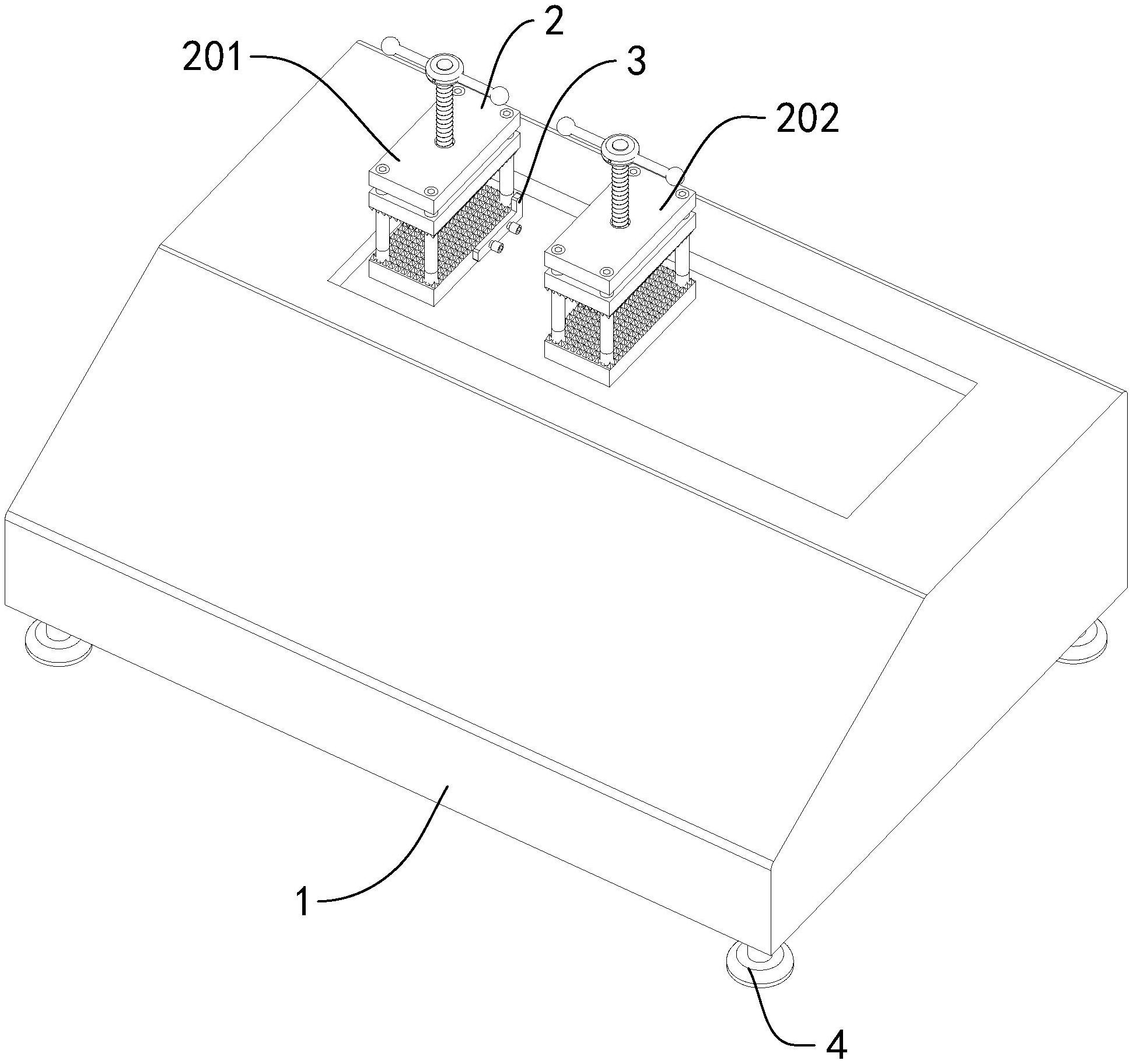
本实用新型公开了一种地板锁合力检测用试验机,包括机台、产品夹具、水平拉伸机构,一个产品夹具固定在机台上,产品夹具均包含固定板、上夹板、下夹板、导向柱、旋紧杆、旋转把手,试验机被配置成在两个所述产品夹具在固定锁扣地板的近端位置处,两个所述产品夹具中的所述旋转把手之间具有一间隙;在两个所述产品夹具相对的侧壁上对称安装有中心调节机构,所述中心调节机构包括调节板、调节螺栓,所述调节板的后端设置有用于抵靠锁扣地板的限位部,所述限位部上具有一朝向前方的用于与锁扣地板相抵的限位面。本方案能够减少待测产品的装夹时间,从而提高检测效率,同时统一实验条件,夹持位置统一,提高测试精度满足标准需求,减少设备误差。


