授权公布号:CN218645886U
一种用于生啤机储酒室内的壁挂式制冷装置
有效
申请
2022-11-04
申请公布
1970-01-01
授权
2023-03-17
预估到期
2032-11-04
| 申请号 | CN202222935241.8 |
| 申请日 | 2022-11-04 |
| 授权公布号 | CN218645886U |
| 授权公告日 | 2023-03-17 |
| 分类号 | F25D31/00;F25D23/00;F25D23/06 |
| 分类 | 制冷或冷却;加热和制冷的联合系统;热泵系统;冰的制造或储存;气体的液化或固化; |
| 申请人名称 | 江苏格林电器有限公司 |
| 申请人地址 | 江苏省苏州市常熟市经济技术开发区高新技术产业园盘锦东路1号 |
专利法律状态
2023-03-17
授权
状态信息
授权
摘要
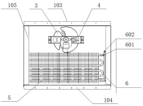
本实用新型公开了一种用于生啤机储酒室内的壁挂式制冷装置,包括:前罩壳、底壳、抽气风机和水冷换热器,所述抽气风机和水冷换热器安装在所述前罩壳和底壳一起围出的矩形腔体内,所述前罩壳包括矩形的前罩板、上侧板、下侧板、左侧板和右侧板,所述上侧板和下侧板的底边向外翻折构成上折边和下折边,所述左侧板和右侧板的底边向内翻折构成内折边,所述底壳放置在所述内折边上,所述前罩板上设置进风栅孔和出风栅孔,所述抽气风机的扇叶紧贴所述进风栅孔,所述水冷换热器安装在所述出风栅孔后方。通过上述方式,本实用新型能够能够满足生啤机的使用要求,将酒液保持在适宜温度,而且拆装方便快捷,降低了改装成本。


