授权公布号:CN213895129U
一种具有角度检测机构的高空作业平台
有效
申请
2020-12-20
申请公布
1970-01-01
授权
2021-08-06
预估到期
2030-12-20
| 申请号 | CN202023090198.7 |
| 申请日 | 2020-12-20 |
| 授权公布号 | CN213895129U |
| 授权公告日 | 2021-08-06 |
| 分类号 | B66F11/04;B66F13/00;G01B21/22 |
| 分类 | 卷扬;提升;牵引; |
| 申请人名称 | 湖南运想重工有限公司 |
| 申请人地址 | 湖南省岳阳市中国(湖南)自由贸易试验区岳阳片区临港产业新区装备制造区 |
专利法律状态
2021-08-06
授权
状态信息
授权
摘要
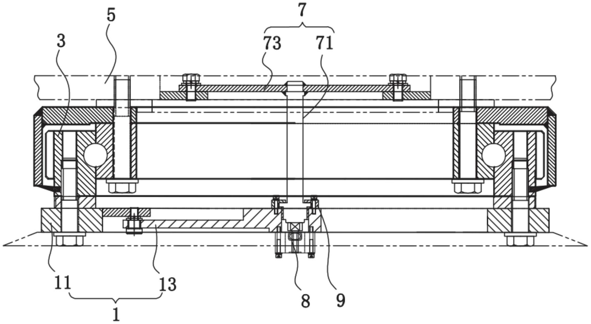
本实用新型公开了一种具有角度检测机构的高空作业平台,该具有角度检测机构的高空作业平台包括底架、回转机构、转台、旋转轴和角度检测器,回转机构设于底架之上,转台设于回转机构之上,旋转轴从底架贯穿回转机构至转台并与转台连接,转台转动并带动旋转轴转动,角度检测器固定于底架上且与旋转轴连接用于检测旋转轴的转动角度以检测转台的转动角度。本实用新型公开的具有角度检测机构的高空作业平台通过增设的旋转轴从底架贯穿回转机构至转台并与转台连接,转台带动旋转轴转动,使角度检测器能检测到旋转轴的角度,进而检测到转台的角度,通过对转台的角度的实时检测来实现对转台精确监控,为实现自动化、智能化的高空作业平台提供技术支持。


