授权公布号:CN209725820U
一种可脱开式拉绳安全保护装置和高空作业平台
有效
申请
2019-03-28
申请公布
1970-01-01
授权
2019-12-03
预估到期
2029-03-28
| 申请号 | CN201920403703.7 |
| 申请日 | 2019-03-28 |
| 授权公布号 | CN209725820U |
| 授权公告日 | 2019-12-03 |
| 分类号 | F16P3/00 |
| 分类 | 工程元件或部件;为产生和保持机器或设备的有效运行的一般措施;一般绝热; |
| 申请人名称 | 湖南运想重工有限公司 |
| 申请人地址 | 湖南省岳阳市城陵矶临港产业新区装备制造区 |
专利法律状态
2019-12-03
授权
状态信息
授权
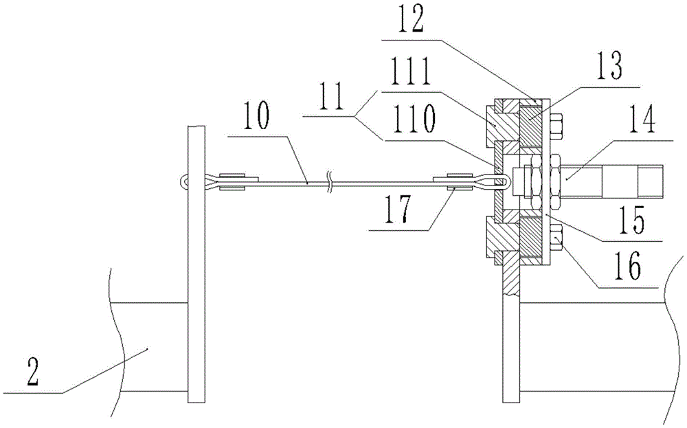
摘要
本实用新型公开了一种可脱开式拉绳安全保护装置和高空作业平台,包括工作栏和装置本体,所述装置本体包括拉绳和接近开关;所述拉绳的一端与所述工作栏的一边相连接,另一端与所述工作栏的另一边脱开连接,所述工作栏的另一边安装有与所述拉绳另一端相对的接近开关。本实用新型解决了安全拉绳开关断电后拉绳不完全脱开,存在拉绳会勒住操作人员的问题,同时也解决了拉绳完全断开后复位困难的问题。


