授权公布号:CN216356568U
一种单片太阳能板电池外墙支架
有效
申请
2021-10-21
申请公布
1970-01-01
授权
2022-04-19
预估到期
2031-10-21
| 申请号 | CN202122529500.2 |
| 申请日 | 2021-10-21 |
| 授权公布号 | CN216356568U |
| 授权公告日 | 2022-04-19 |
| 分类号 | H02S20/30;F24S30/425 |
| 分类 | 发电、变电或配电; |
| 申请人名称 | 福建西伯力环保科技有限公司 |
| 申请人地址 | 福建省福州市晋安区新店镇健康村琴声工业园1#楼三层 |
专利法律状态
2022-04-19
授权
状态信息
授权
摘要
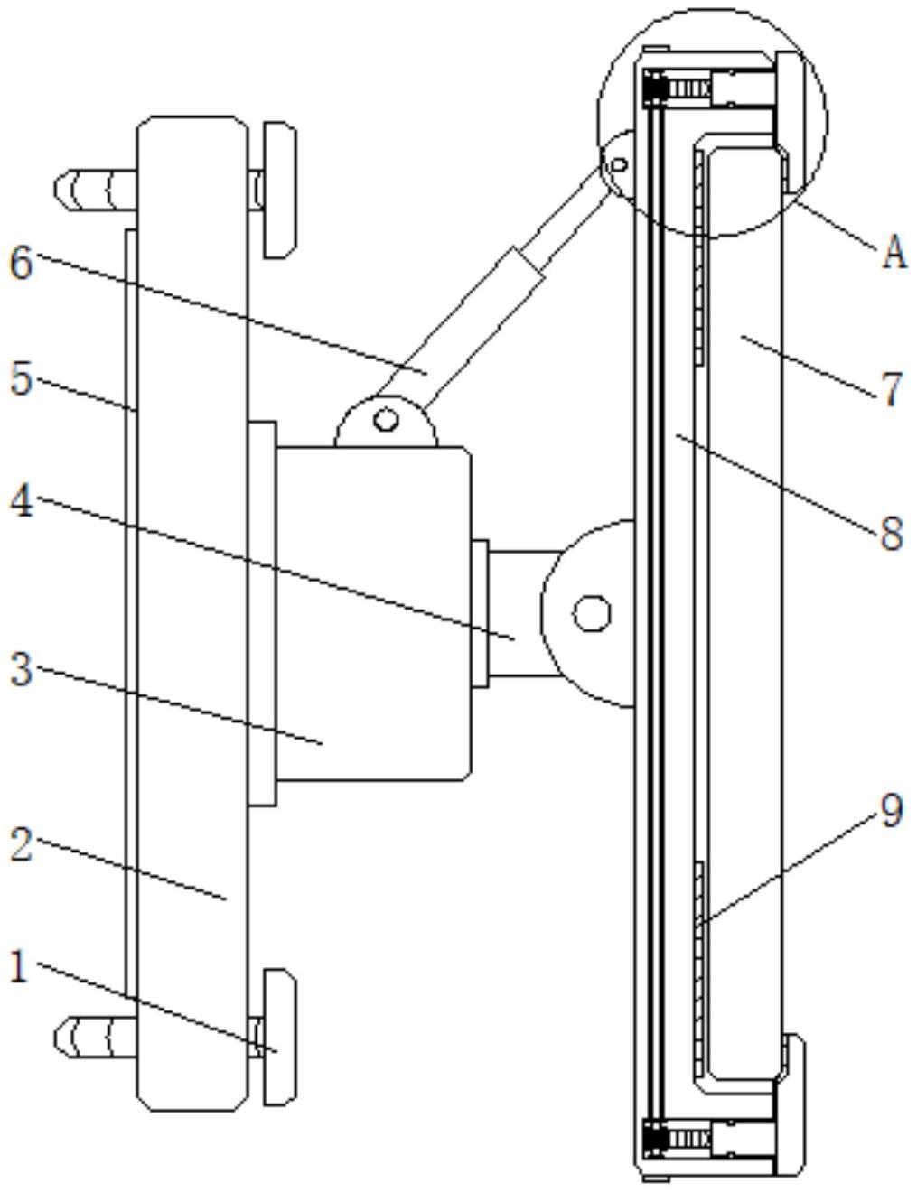
本实用新型公开了一种单片太阳能板电池外墙支架,包括底座,所述底座的一侧设有固定机构,所述底座靠近固定机构的一侧固定连接有安装块,所述安装块远离底座的一端固定连接有连接块,所述安装块远离底座的一端设有安装板,所述连接块远离安装块的一端与安装板转动连接,所述安装块的上端与安装板之间设有角度调节机构,所述安装板远离底座的一侧设有置物槽,所述置物槽内放置有太阳能板本体,所述太阳能板本体的一侧贯穿置物槽,所述安装板靠近置物槽的一侧设有两个滑槽,所述滑槽内滑动连接有滑块。本实用新型通过调节与限位机构的设置,使太阳能板可快速拆装进行维护检修,并且可根据需求调节倾斜角度,适用范围较广。


