授权公布号:CN220554212U
一种DCI快速安装的背板支架装置
有效
申请
2023-08-04
申请公布
1970-01-01
授权
2024-03-01
预估到期
2033-08-04
| 申请号 | CN202322102351.0 |
| 申请日 | 2023-08-04 |
| 授权公布号 | CN220554212U |
| 授权公告日 | 2024-03-01 |
| 分类号 | H05K7/18;H05K7/20;H05K7/14 |
| 分类 | 其他类目不包含的电技术; |
| 申请人名称 | 广东九博科技股份有限公司 |
| 申请人地址 | 广东省广州市天河区思成路23号229室 |
专利法律状态
2024-03-01
授权
状态信息
授权
摘要
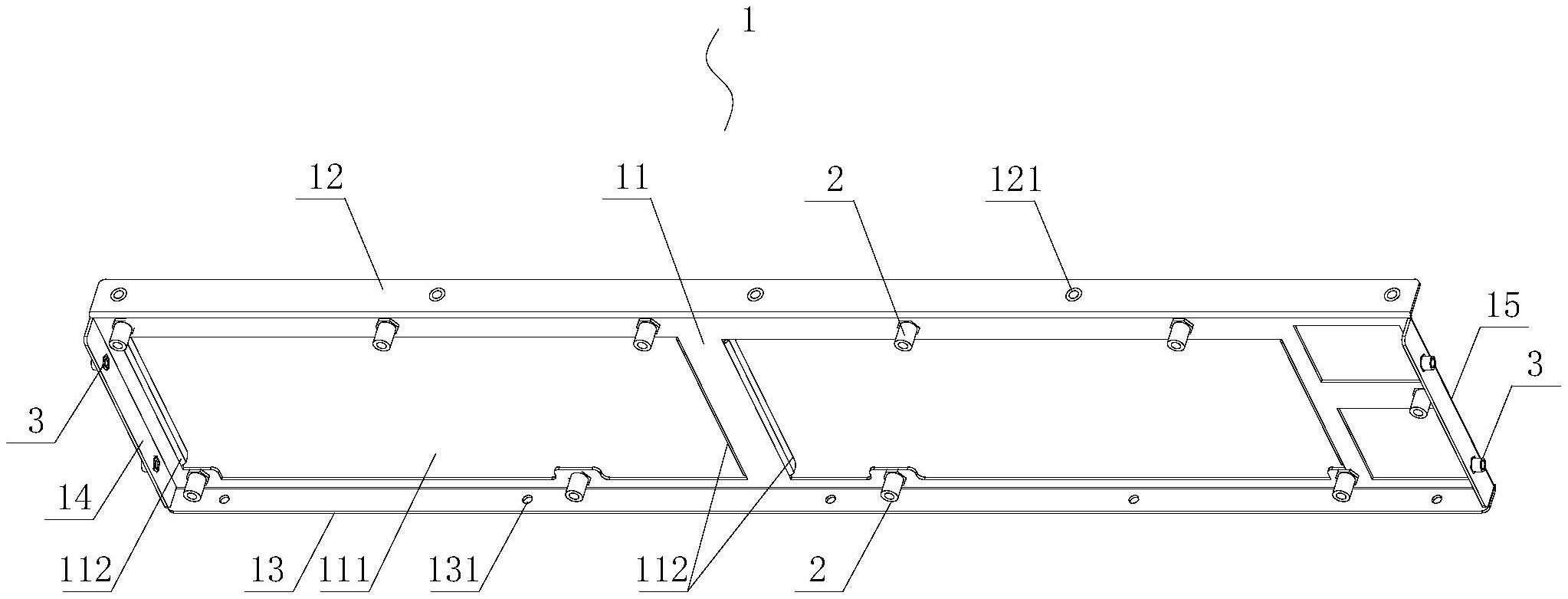
本实用新型属于DCI框式设备技术领域。具体公开DCI快速安装的背板支架装置,包括支架主体,支架主体包括支架主平面、置于支架主平面前后两边缘的上折弯边和下折弯边,置于支架主体平面的左右两侧边的左右折弯边,上折弯边、支架主平面、下折弯边形成Z型结构,支架主平面上设有方形通风孔,支架主平面的边缘处设有若干压铆导向销,左右折弯边上设有若干压铆螺母柱,上折弯边和下折弯边上均设有若干导向定位孔。本实用新型的背板支架装置,能优化装配,安装简便,而且可以在装置外部将背板装配完成后,再快速安装到设备上,且结构简洁,制造工艺简单,装配方便,快速安装和拆卸,有效提高生产效率,降低生产成本。


