授权公布号:CN220586575U
一种面板支架装置
有效
申请
2023-08-07
申请公布
1970-01-01
授权
2024-03-12
预估到期
2033-08-07
| 申请号 | CN202322111539.1 |
| 申请日 | 2023-08-07 |
| 授权公布号 | CN220586575U |
| 授权公告日 | 2024-03-12 |
| 分类号 | H05K5/02 |
| 分类 | 其他类目不包含的电技术; |
| 申请人名称 | 广东九博科技股份有限公司 |
| 申请人地址 | 广东省广州市天河区思成路23号229室 |
专利法律状态
2024-03-12
授权
状态信息
授权
摘要
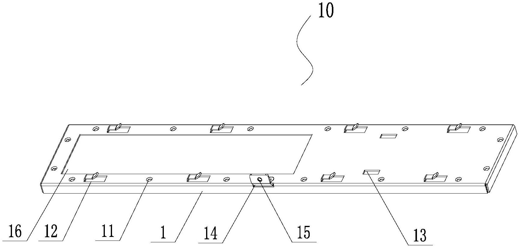
本实用新型属于网络单元技术领域。具体公开一种面板支架装置,包括面板支架,所述面板支架的主平面上设有沉头螺丝孔和折弯挂钩,所述面板支架的主平面上设有若干导向槽所述面板支架上设有舌型折弯件,所述舌型折弯件上设有压铆螺母。本实用新型所述的支架装置,能美化设备的整体外观,安装简便,能提高面板的装配和拆卸效率,此外,该支架装置结构简洁,制造工艺简单,外观美观,有效提高生产装配和后期维修效率。


