授权公布号:CN218450963U
一种DCI框式设备板卡金属卡扣装置
有效
申请
2022-09-30
申请公布
1970-01-01
授权
2023-02-03
预估到期
2032-09-30
| 申请号 | CN202222618878.4 |
| 申请日 | 2022-09-30 |
| 授权公布号 | CN218450963U |
| 授权公告日 | 2023-02-03 |
| 分类号 | H05K7/14 |
| 分类 | 其他类目不包含的电技术; |
| 申请人名称 | 广东九博科技股份有限公司 |
| 申请人地址 | 广东省广州市天河区思成路23号229室 |
专利法律状态
2023-02-03
授权
状态信息
授权
摘要
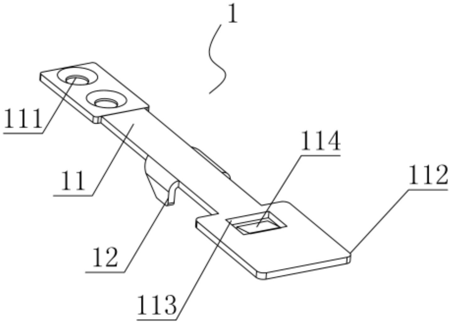
本实用新型属于DCI框式设备技术领域。具体公开为一种DCI框式设备板卡金属卡扣装置,包括金属卡扣主体,所述金属卡扣主体为一体化的金属板材结构,所述金属卡扣主体包括卡扣主体板,所述卡扣主体板的中部位置的两侧对应设有向下弯折后能卡进设备板卡的开口孔内进行卡扣固定的卡扣折弯边,所述卡扣主体板的后端部设有通过连接件与板卡支架进行固定连接的沉头孔。本实用新型所述的DCI框式设备板卡金属卡扣装置,无需高成本的模具成型,价格低廉,安装简便,而且装配尺寸稳定可靠;此外,该板卡金属卡扣装置使用简单,提升了设备板卡空间利用率。


