授权公布号:CN218722477U
一种移动式果蔬真空预冷机
有效
申请
2022-09-03
申请公布
1970-01-01
授权
2023-03-24
预估到期
2032-09-03
| 申请号 | CN202222339829.7 |
| 申请日 | 2022-09-03 |
| 授权公布号 | CN218722477U |
| 授权公告日 | 2023-03-24 |
| 分类号 | F25D11/00;F25D17/04;F25D23/10;A23B7/04 |
| 分类 | 制冷或冷却;加热和制冷的联合系统;热泵系统;冰的制造或储存;气体的液化或固化; |
| 申请人名称 | 郑州凯雪冷链股份有限公司 |
| 申请人地址 | 河南省郑州市中牟县中牟汽车工业园 |
专利法律状态
2023-03-24
授权
状态信息
授权
摘要
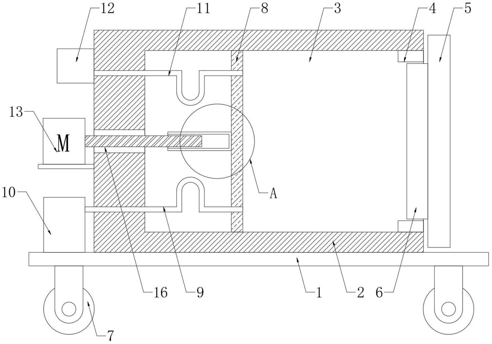
本实用新型公开了一种移动式果蔬真空预冷机,包括基板,所述基板上端面固定安装有壳体,所述壳体侧壁水平开设有储存室,所述储存室内水平密封滑动连接有活塞板,所述活塞板远离储存室开口一侧面中部水平固定连接有螺纹筒,所述螺纹筒,所述螺纹筒内水平螺纹连接有螺纹杆,所述储存室槽壁与壳体侧壁之间水平开设有与螺纹筒对应的通孔,且螺纹杆远离螺纹筒的一端穿过通孔延伸至壳体外,所述壳体侧壁固定安装有驱动电机。本实用新型中,通过螺纹杆与螺纹筒的配合,可以根据果蔬的量对储存室的空间大小进行调节,从而可以节约电力能源,同时通过在基板底部设置多个万向轮,从而便于本设备的移动。


