授权公布号:CN112833388B
对冲燃烧锅炉的超低NOx燃烧系统
有效
申请
2021-01-19
申请公布
2021-05-25
授权
2022-12-27
预估到期
2041-01-19
| 申请号 | CN202110070320.4 |
| 申请日 | 2021-01-19 |
| 申请公布号 | CN112833388A |
| 申请公布日 | 2021-05-25 |
| 授权公布号 | CN112833388B |
| 授权公告日 | 2022-12-27 |
| 分类号 | F23C5/28;F23C7/02 |
| 分类 | 燃烧设备;燃烧方法; |
| 申请人名称 | 北京巴布科克·威尔科克斯有限公司 |
| 申请人地址 | 北京市石景山区石景山路36号 |
专利法律状态
2022-12-27
授权
状态信息
授权
2021-06-11
实质审查的生效
状态信息
实质审查的生效;IPC(主分类):F23C5/28;申请日:20210119
2021-05-25
公布
状态信息
公布
摘要
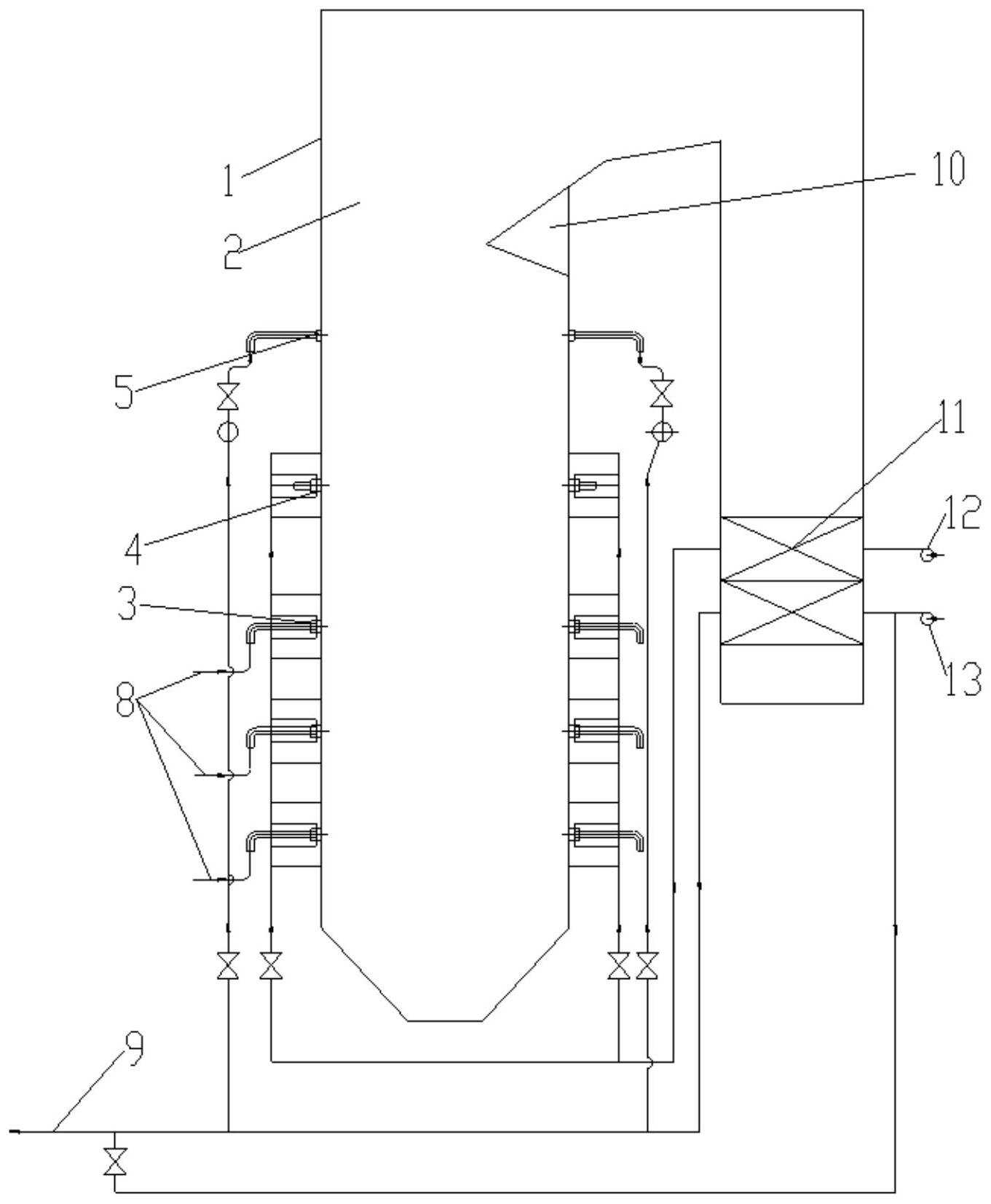
本发明公开了一种对冲燃烧锅炉的超低NOx燃烧系统,包括:多排燃烧器,多排燃烧器沿锅炉的炉膛水冷壁竖向间隔设置,每排燃烧器包括多个燃烧器,所述燃烧器为旋流燃烧器;至少一对第一燃尽风喷口,每对第一燃尽风喷口相对设置于所述燃烧器上方的炉膛的前后水冷壁上,并且与热二次风供应管道连通;至少一对第二燃尽风喷口,每对第二燃尽风喷口相对设置于所述第一燃尽风喷口上方的炉膛的前后水冷壁上,并且与热一次风供应管道连通。本发明具有通过分流分层布置燃尽风,使燃烧后期混合充分,降低SCR入口的NOx含量的有益效果。


