授权公布号:CN218915410U
锅炉刚性梁系统膜式壁角部连接结构
有效
申请
2022-10-21
申请公布
1970-01-01
授权
2023-04-25
预估到期
2032-10-21
| 申请号 | CN202222780500.4 |
| 申请日 | 2022-10-21 |
| 授权公布号 | CN218915410U |
| 授权公告日 | 2023-04-25 |
| 分类号 | F24H9/00;F24H9/06;F22B37/24;F23M5/08 |
| 分类 | 供热;炉灶;通风; |
| 申请人名称 | 北京巴布科克·威尔科克斯有限公司 |
| 申请人地址 | 北京市石景山区石景山路36号 |
专利法律状态
2023-04-25
授权
状态信息
授权
摘要
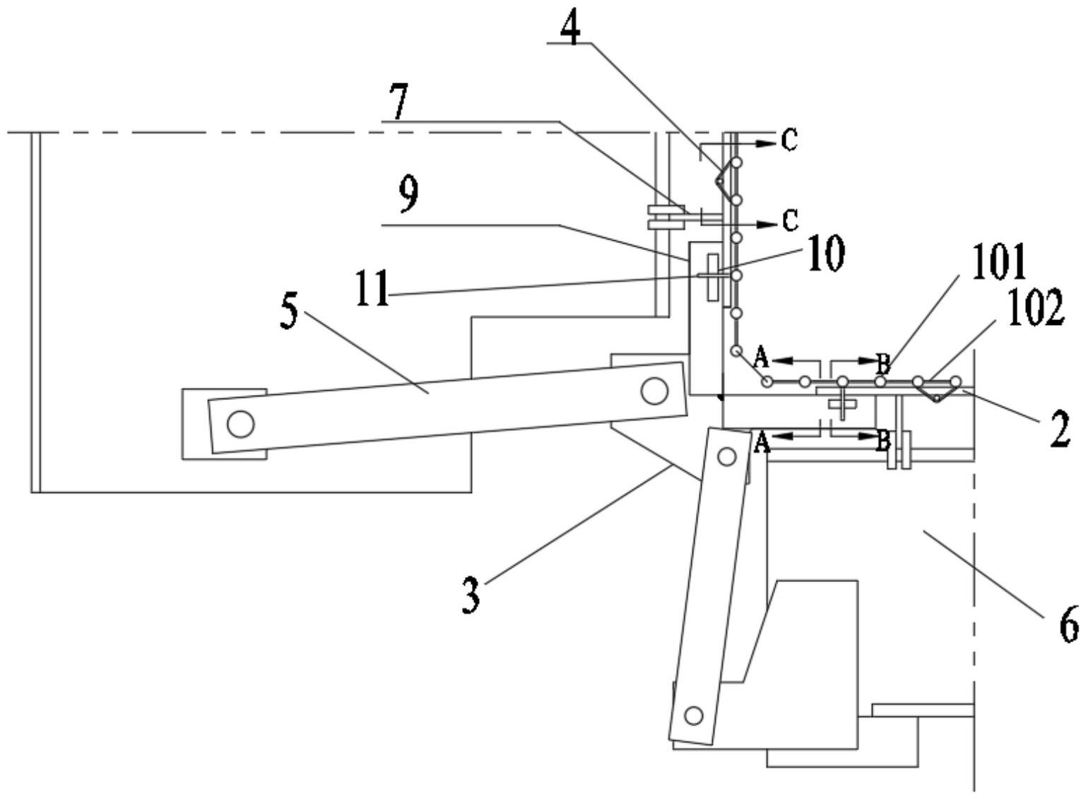
本实用新型公开了一种锅炉刚性梁系统膜式壁角部连接结构,包括锅炉角部的膜式壁、分别压设在膜式壁外壁的一对连接板,与一对连接板对应且分别与对应连接板连接的立板组、与一对立板组对应且分别与对应立板组远离连接板的一端滑动连接的一对刚性梁、与一对刚性梁对应且一端与对应刚性梁端部铰接的连板、与一对连板另一端铰接的角板,所述连接板靠近所述膜式壁角部的端部与所述角板之间留有空间,每一连接板远离所述膜式壁的一面连接有一支板,一对支板远离所述连接板的一面连接有所述的角板,一对支板在膜式壁角部直角连接;所述支板顶部与所述膜式壁滑动连接。本实用新型具有的有益效果是,适用于大节距膜式壁的端部连接。


