授权公布号:CN218764031U
太阳能水工质自然循环饱和蒸汽吸热器
有效
申请
2022-08-12
申请公布
1970-01-01
授权
2023-03-28
预估到期
2032-08-12
| 申请号 | CN202222124545.6 |
| 申请日 | 2022-08-12 |
| 授权公布号 | CN218764031U |
| 授权公告日 | 2023-03-28 |
| 分类号 | F24S10/70;F24S23/70;F24S80/30;F22B1/00;F22B37/24 |
| 分类 | 供热;炉灶;通风; |
| 申请人名称 | 北京巴布科克·威尔科克斯有限公司 |
| 申请人地址 | 北京市石景山区石景山路36号 |
专利法律状态
2023-03-28
授权
状态信息
授权
摘要
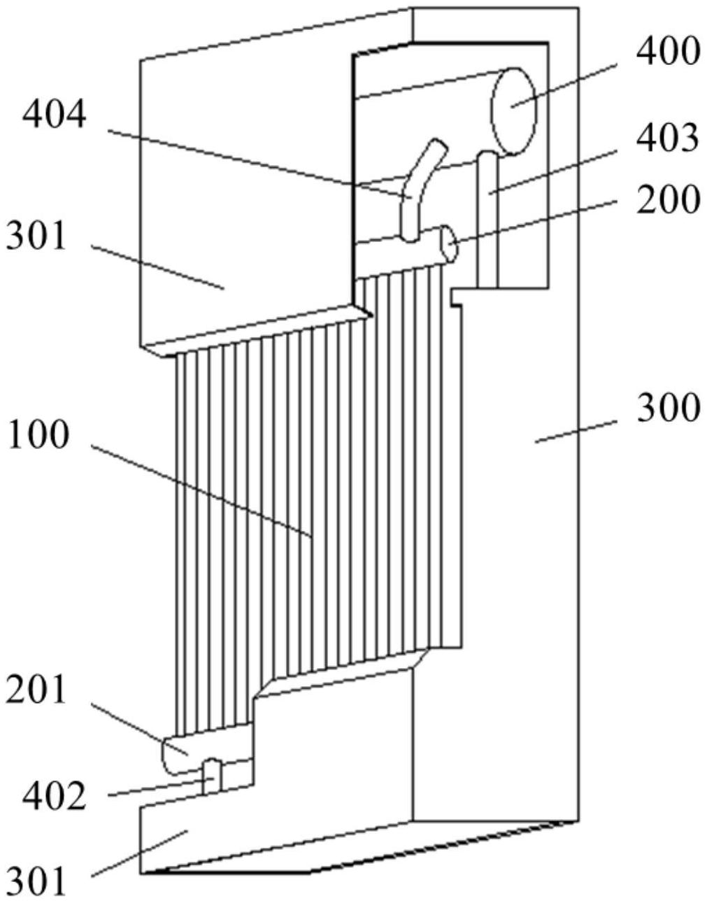
本实用新型公开了一种太阳能水工质自然循环饱和蒸汽吸热器,其包括吸热管屏,所述吸热管屏设置有多组竖直排列的管组,每组管组包括多根吸热管道,每根吸热管道设置有中部的直管段、以及两端的弯管段,且每根吸热管道两端的弯管段的弯曲度不同,每组管组的多根吸热管道的直管段相互平行并列设置,两端的弯管段偏折入同一平面内。本实用新型提供了一种高效经济、涵盖所有功率的太阳能水工质自然循环饱和蒸汽吸热器,其结构简单,成本低,不需要大型的定日镜场,适用于工业、食品、制药、民用等分布式太阳能热利用,吸热器采用自然循环,产生饱和蒸汽,不需要配置强制循环泵。采用太阳能作为能源,不产生任何污染物排放和碳排放。


