授权公布号:CN218764030U
太阳能水工质自然循环过热蒸汽吸热器
有效
申请
2022-08-12
申请公布
1970-01-01
授权
2023-03-28
预估到期
2032-08-12
| 申请号 | CN202222124539.0 |
| 申请日 | 2022-08-12 |
| 授权公布号 | CN218764030U |
| 授权公告日 | 2023-03-28 |
| 分类号 | F24S10/70;F24S23/70;F24S80/30;F22B1/00;F22B37/24 |
| 分类 | 供热;炉灶;通风; |
| 申请人名称 | 北京巴布科克·威尔科克斯有限公司 |
| 申请人地址 | 北京市石景山区石景山路36号 |
专利法律状态
2023-03-28
授权
状态信息
授权
摘要
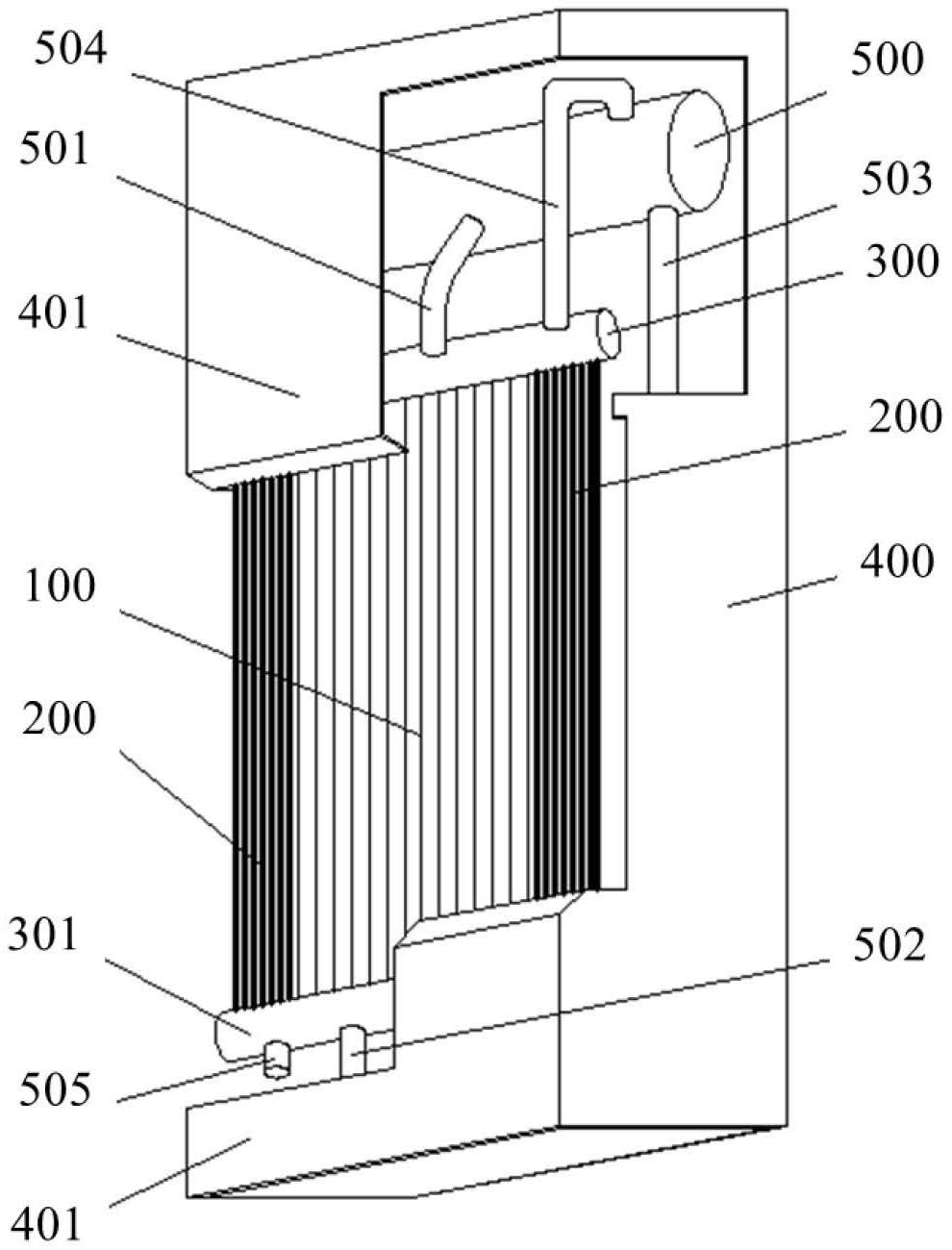
本实用新型公开了一种太阳能水工质自然循环过热蒸汽吸热器,其包括水冷管屏、以及设置在水冷管屏两侧的两组过热管屏,所述水冷管屏和过热管屏均设置有多组竖直排列的管组,每组管组包括多根吸热管道,每根吸热管道设置有中部的直管段、以及两端的弯管段,且每根吸热管道两端的弯管段的弯曲度不同,每组管组的多根吸热管道的直管段相互平行并列设置,两端的弯管段偏折入同一平面内。本实用新型提供了一种高效经济的太阳能水工质自然循环过热蒸汽吸热器,其结构简单,成本低,适用于工业、食品、制药、民用等分布式太阳能热利用,吸热器采用自然循环,产生过热蒸汽,不需要配置强制循环泵,且采用太阳能作为能源,实现无污染和零碳排放。


