授权公布号:CN216281350U
分离式煤粉浓缩器
有效
申请
2021-09-13
申请公布
1970-01-01
授权
2022-04-12
预估到期
2031-09-13
| 申请号 | CN202122208202.3 |
| 申请日 | 2021-09-13 |
| 授权公布号 | CN216281350U |
| 授权公告日 | 2022-04-12 |
| 分类号 | F23C5/02;F23D1/02 |
| 分类 | 燃烧设备;燃烧方法; |
| 申请人名称 | 北京巴布科克·威尔科克斯有限公司 |
| 申请人地址 | 北京市石景山区石景山路36号 |
专利法律状态
2022-04-12
授权
状态信息
授权
摘要
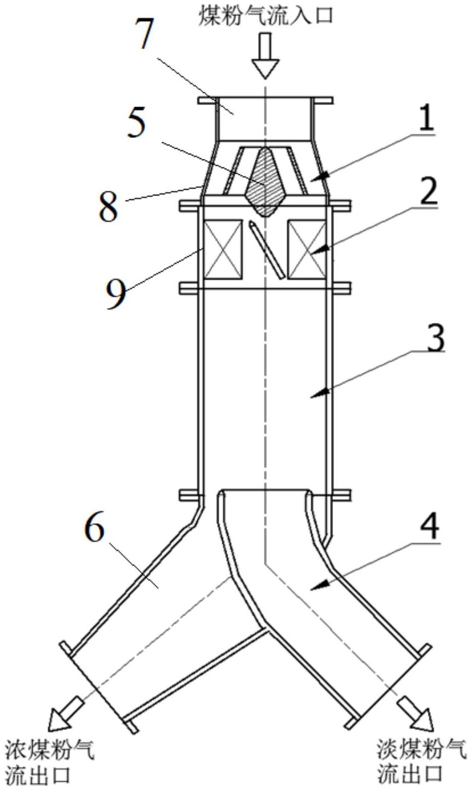
本实用新型公开了一种分离式煤粉浓缩器,包括:一级扩散分离机构,其包括煤粉气流进入筒,所述煤粉气流进入筒下端可拆卸连通有煤粉扩散筒,所述煤粉扩散筒内设有煤粉扩散组件;二级旋流分离机构,其包括与所述煤粉扩散筒可拆卸连通的旋流筒,所述旋流筒的内侧壁沿其周向间隔设有多个离心叶片,所述离心叶片的自由端朝向所述旋流筒的中轴线设置,多个离心叶片的自由端不连接以形成淡煤粉通道;三级煤粉分离机构。本实用新型通过设置煤粉气流进入筒、与煤粉气流进入筒可拆卸连通的煤粉扩散筒、与所述煤粉扩散筒可拆卸连通的旋流筒、与所述旋流筒可拆卸连通的三级煤粉分离机构,实现分离式煤粉浓缩器的可拆卸,以便于煤粉浓缩器的检修与维护。


