授权公布号:CN216790143U
锅炉拉压杆限位装置
有效
申请
2021-04-09
申请公布
1970-01-01
授权
2022-06-21
预估到期
2031-04-09
| 申请号 | CN202120728712.0 |
| 申请日 | 2021-04-09 |
| 授权公布号 | CN216790143U |
| 授权公告日 | 2022-06-21 |
| 分类号 | F22B37/24;F24H9/06 |
| 分类 | 蒸汽的发生; |
| 申请人名称 | 北京巴布科克·威尔科克斯有限公司 |
| 申请人地址 | 北京市石景山区石景山路36号 |
专利法律状态
2022-06-21
授权
状态信息
授权
摘要
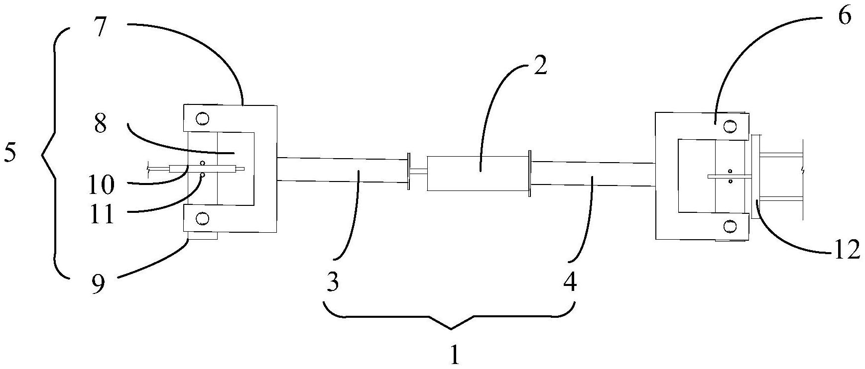
本实用新型公开了一种锅炉拉压杆限位装置,包括:拉压杆,其设于刚性梁和钢结构之间,拉压杆的一端与刚性梁销轴连接,另一端与钢结构销轴连接,拉压杆上设有缓冲部,本实用新型根据锅炉刚性梁和钢结构的位置要求,调节拉压杆在钢结构上的位置,拉压杆能够布置在非锅炉膨胀中心位置上,同时能保证传力和锅炉膨胀要求,安装简便快捷。


