授权公布号:CN2536398Y
气压式压纸框抬起装置
失效
申请
2002-04-26
申请公布
1970-01-01
授权
2003-02-19
预估到期
2012-04-26
| 申请号 | CN02217105.3 |
| 申请日 | 2002-04-26 |
| 授权公布号 | CN2536398Y |
| 授权公告日 | 2003-02-19 |
| 分类号 | B41F33/06 |
| 分类 | 印刷;排版机;打字机;模印机〔4〕; |
| 申请人名称 | 上海亚华印刷机械有限公司 |
| 申请人地址 | 上海市茶陵北路20号 |
专利法律状态
2021-06-11
授权
状态信息
授权
2010-08-11
专利权的终止
状态信息
未缴年费专利权终止;IPC(主分类):B41F 33/06;申请日:20020426;授权公告日:20030219
2003-02-19
实用新型专利权授予
状态信息
授权
摘要
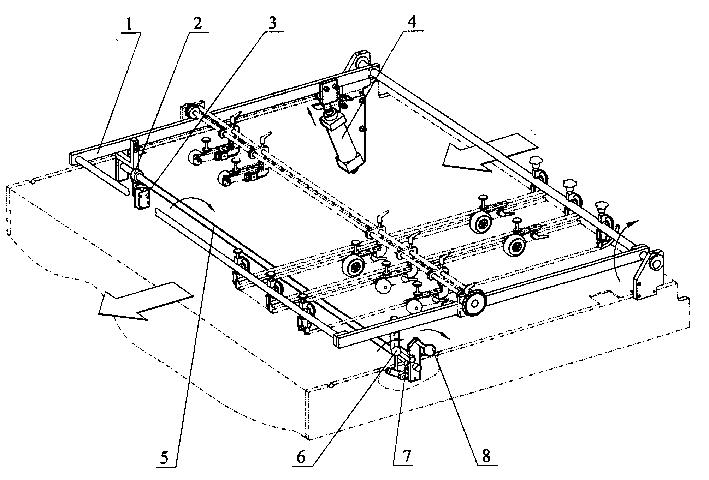
本实用新型涉及一种气压式压纸框抬起装置,包括压纸框(1),贯通压纸框两端的操纵杆(5),操纵杆连接手柄(8)、锁紧凸轮(7)和锁紧手柄(6)。在操纵杆近一端装有控制凸轮(2),控制凸轮控制装在控制凸轮下端的控制阀(3),控制阀连接装在压纸框一端的气缸(4)。本实用新型结构简单,操作方便,在提高压纸框动作的平稳性、锁定的可靠性的同时,大大降低了劳动强度,提高了配套整机的自动化程度。


