授权公布号:CN218174074U
一种接纸机
有效
申请
2022-08-24
申请公布
1970-01-01
授权
2022-12-30
预估到期
2032-08-24
| 申请号 | CN202222235689.9 |
| 申请日 | 2022-08-24 |
| 授权公布号 | CN218174074U |
| 授权公告日 | 2022-12-30 |
| 分类号 | B65H19/10;B65H19/18 |
| 分类 | 输送;包装;贮存;搬运薄的或细丝状材料; |
| 申请人名称 | 湖北京山轻工机械股份有限公司 |
| 申请人地址 | 湖北省荆门市京山县经济开发区轻机工业园 |
专利法律状态
2022-12-30
授权
状态信息
授权
摘要
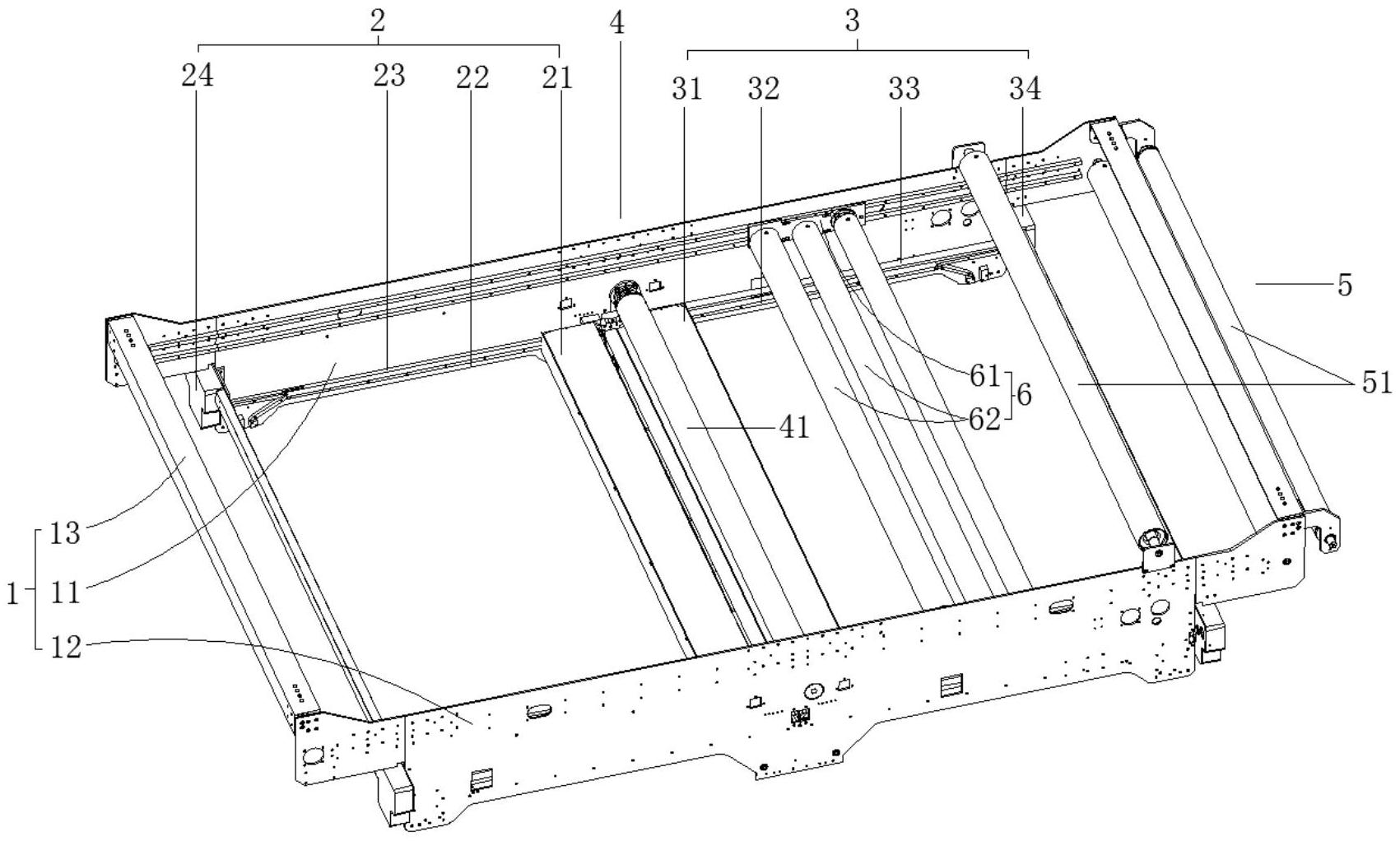
本实用新型公开了一种接纸机,包括机架,所述机架上设置有:第一供纸区,所述第一供纸区包括第一小车、第一翻转组件、第一卷纸,所述第一小车能够固定所述第一卷纸的接纸头;第二供纸区,所述第二供纸区包括第二小车、第二翻转组件、第二卷纸,所述第二小车能够固定所述第二卷纸的接纸头;接纸区,所述接纸区位于所述第一供纸区与所述第二供纸区之间,所述接纸区具有提纸辊,所述提纸辊与所述机架可转动连接。本实用新型利用翻转组件将水平放置状态的卷纸的接纸头由水平状态翻转至垂直放置状态,进而改变原纸的双面胶的朝向,起到减少环境中的灰尘及细小纸屑附着于原纸的双面胶上的概率,从而保证原纸的双面胶的粘接性能。


