授权公布号:CN215305846U
可量测动脉硬化的血压计
有效
申请
2020-10-29
申请公布
1970-01-01
授权
2021-12-28
预估到期
2030-10-29
| 申请号 | CN202022456450.5 |
| 申请日 | 2020-10-29 |
| 授权公布号 | CN215305846U |
| 授权公告日 | 2021-12-28 |
| 分类号 | A61B5/0225;A61B50/31 |
| 分类 | 医学或兽医学;卫生学; |
| 申请人名称 | 爱奥乐医疗器械(深圳)有限公司 |
| 申请人地址 | 广东省深圳市龙岗区龙岗街道宝龙社区宝龙五路2号尚荣工业厂区厂房A6B7 |
专利法律状态
2021-12-28
授权
状态信息
授权
摘要
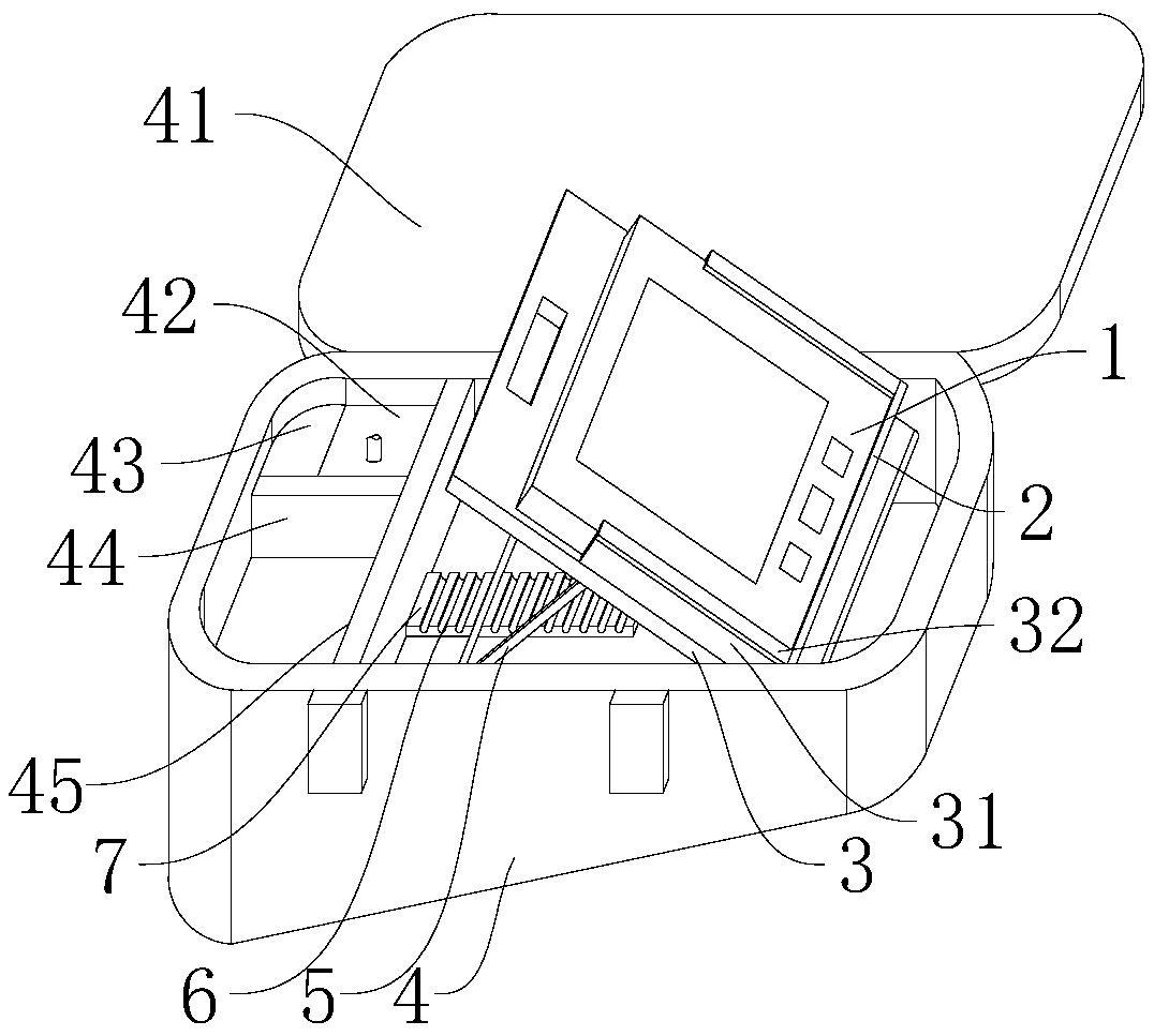
本实用新型提供可量测动脉硬化的血压计,包括增加了检测动脉硬化算法的血压计本体以及放置盒,所述放置盒右侧内部通过转轴转动连接倾斜布置的活动平板,所述活动平板右侧朝外端固定连接底挡板,所述活动平板朝外端贴合设置血压计本体,所述活动平板左侧朝内端转动连接U型支撑架,所述放置盒内部底端固定连接阻挡板,所述阻挡板上端等距开设左右布置的若干个卡槽且卡槽内卡装U型支撑架的横向部,该设计将U型支撑架的横向部卡装到阻挡板上端合适位置的卡槽内,进而使活动平板呈一个合适倾斜角度,实现调整血压计本体的倾斜角度,满足人员进行使用,提升适用范围,也能对血压计本体进行折叠储存,安全性高。


