授权公布号:CN217025349U
一种一体化臭氧发生装置
有效
申请
2022-01-29
申请公布
1970-01-01
授权
2022-07-22
预估到期
2032-01-29
| 申请号 | CN202220246750.7 |
| 申请日 | 2022-01-29 |
| 授权公布号 | CN217025349U |
| 授权公告日 | 2022-07-22 |
| 分类号 | C01B13/11;B01F23/10 |
| 分类 | 无机化学; |
| 申请人名称 | 浙江百悦康科技股份有限公司 |
| 申请人地址 | 浙江省嘉兴市南湖区七星镇三店路398号 |
专利法律状态
2022-07-22
授权
状态信息
授权
摘要
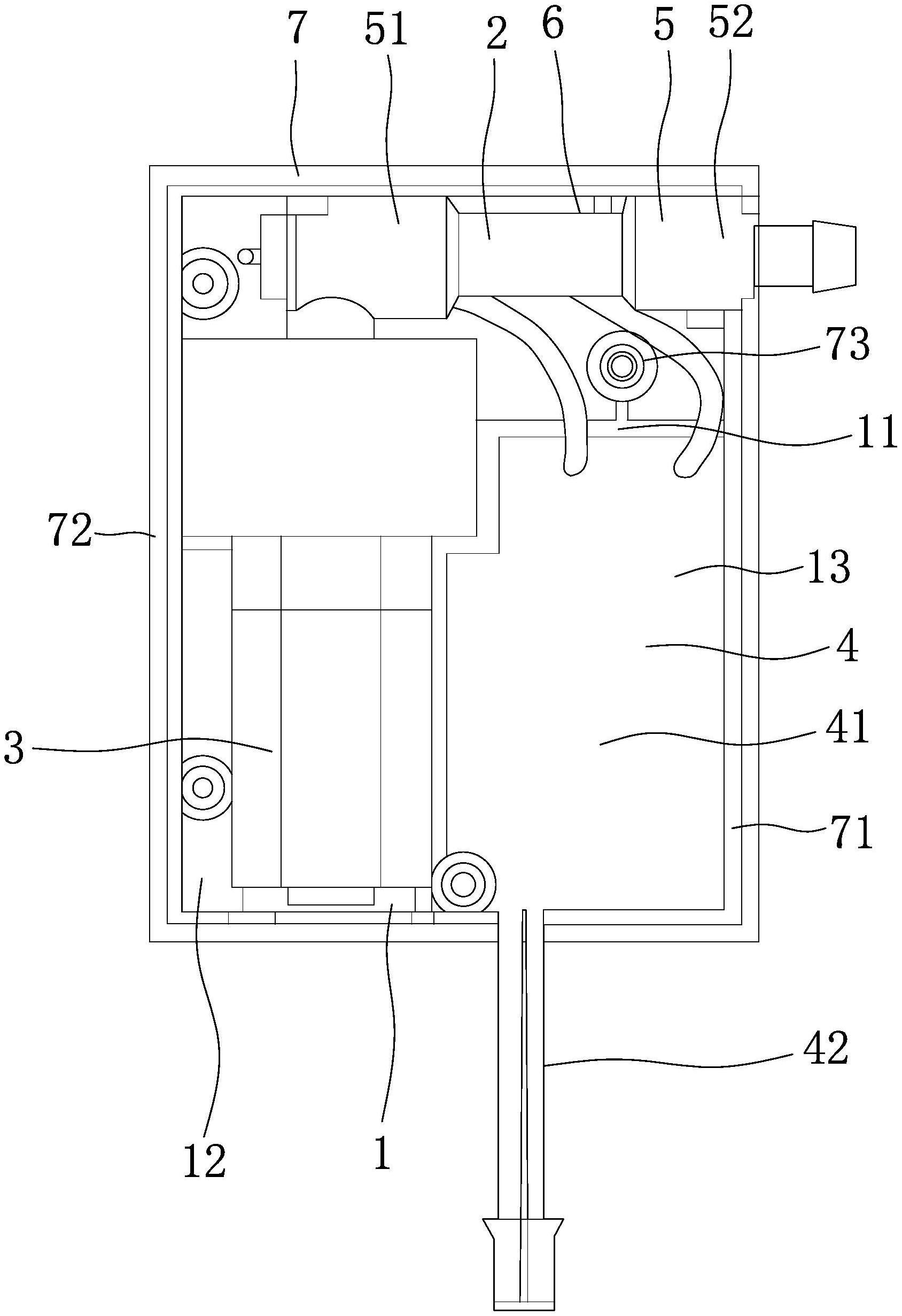
本实用新型提供了一种一体化臭氧发生装置,它解决了臭氧发生器内部密封等问题,其包括发生器主体,发生器主体内部安装有臭氧发生管以及与臭氧发生管连通的微型高压气泵,臭氧发生管和微型高压气泵与控制电路机构连接,臭氧发生管与发生器主体之间设置有固定机构,臭氧发生管与固定机构之间设置有密封防护机构。本实用新型具有结构稳定、内部密封性好等优点。


