授权公布号:CN217736750U
建筑工地安全监控装置
有效
申请
2022-06-17
申请公布
1970-01-01
授权
2022-11-04
预估到期
2032-06-17
| 申请号 | CN202221520227.5 |
| 申请日 | 2022-06-17 |
| 授权公布号 | CN217736750U |
| 授权公告日 | 2022-11-04 |
| 分类号 | F16M11/04;F16M11/08;F16M11/18 |
| 分类 | 工程元件或部件;为产生和保持机器或设备的有效运行的一般措施;一般绝热; |
| 申请人名称 | 辽宁奥普泰通信股份有限公司 |
| 申请人地址 | 辽宁省沈阳市浑南区文溯街16-13号国际新兴产业园14号楼3层 |
专利法律状态
2022-11-04
授权
状态信息
授权
摘要
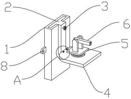
本实用新型涉及施工安全装置技术领域,建筑工地安全监控装置,包括安全监控装置安装座A,所述安全监控装置安装座A滑动连接有安全监控装置安装块B,且安全监控装置安装块B一端通过紧固螺钉与安全监控装置安装座A固定连接,所述安全监控装置安装块B的底端固定连接有安装底板,所述安装底板的顶端转动连接有监控器旋转底板,且监控器旋转底板的顶端固定连接有安装架,且安全监控装置安装块B通过紧固螺钉与安全监控装置安装座A固定连接,使得无论是装置的安装过程或是拆卸过程,都可以通过安全监控装置安装块B和安全监控装置安装座A的滑动连接,使装置可以便捷地安装,本实用结构简单,设置合理,具有实用性。


