授权公布号:CN218883987U
一种基于固体热化学储热的低浓度瓦斯蓄热式氧化装置
有效
申请
2022-11-15
申请公布
1970-01-01
授权
2023-04-18
预估到期
2032-11-15
| 申请号 | CN202223027061.6 |
| 申请日 | 2022-11-15 |
| 授权公布号 | CN218883987U |
| 授权公告日 | 2023-04-18 |
| 分类号 | F23G7/06;F23G5/02;F23G5/08;F23G5/44;F28D20/00 |
| 分类 | 燃烧设备;燃烧方法; |
| 申请人名称 | 西子清洁能源装备制造股份有限公司 |
| 申请人地址 | 浙江省杭州市江干区大农港路1216号 |
专利法律状态
2023-04-18
授权
状态信息
授权
摘要
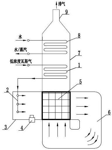
本实用新型公开了一种基于固体热化学储热的低浓度瓦斯蓄热式氧化装置,包括交叉分布的前置烟道和尾部烟道,前置烟道和尾部烟道的交叉口设置有热化学储热模块,热化学储热模块内包括有交错分布的热介质通道和冷介质通道,前置烟道通过冷介质通道后连通有氧化室,氧化室通过热介质通道后连通尾部烟道,尾部烟道内设置有低浓度瓦斯预热器,低浓度瓦斯预热器的管路一端连通低浓度瓦斯输入口,另一端连通前置烟道,前置烟道内设置有燃烧器。本实用新型可以仅通过起动的加热辅助,就可实现低浓度瓦斯氧化装置的自维持稳定运行,并充分利用了氧化产生的余热;整套装置高度集成,具有可靠性、经济性、稳定性的特点。


