授权公布号:CN220127963U
一种集箱圆形嵌入式端盖定位装置
有效
申请
2023-04-14
申请公布
1970-01-01
授权
2023-12-05
预估到期
2033-04-14
| 申请号 | CN202320834700.5 |
| 申请日 | 2023-04-14 |
| 授权公布号 | CN220127963U |
| 授权公告日 | 2023-12-05 |
| 分类号 | B23K37/04 |
| 分类 | 机床;不包含在其他类目中的金属加工; |
| 申请人名称 | 西子清洁能源装备制造股份有限公司 |
| 申请人地址 | 浙江省杭州市江干区大农港路1216号 |
专利法律状态
2023-12-05
授权
状态信息
授权
摘要
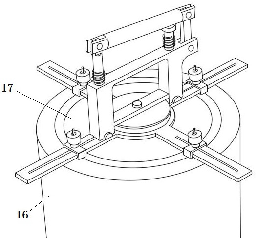
本实用新型公开了一种集箱圆形嵌入式端盖定位装置,包括固定机构,曲柄滑块机构、端盖吸附装置、滑动定位装置和弹簧顶针,固定机构包括底座,底座用于连接固定曲柄滑块机构、端盖吸附装置和弹簧顶针,底座外设置有十字形的轨道,轨道上带有滑槽,用于连接滑动定位装置;滑动定位装置用于端盖和集箱之间定位;端盖吸附装置用于吸取集箱圆形嵌入式端盖;曲柄滑块机构用于带动弹簧顶针顶压分离端盖吸附装置和集箱圆形嵌入式端盖。本实用新型实现了对集箱圆形嵌入式端盖的拿取、固定、移动和定位,大大提高了集箱圆形嵌入式端盖的定位效率,减少了人工定位时的测量时间,降低了操作人员的技能水平要求,降低了人工成本。


