授权公布号:CN217507553U
电池模组
有效
申请
2021-08-26
申请公布
1970-01-01
授权
2022-09-27
预估到期
2031-08-26
| 申请号 | CN202122039258.0 |
| 申请日 | 2021-08-26 |
| 授权公布号 | CN217507553U |
| 授权公告日 | 2022-09-27 |
| 分类号 | H01M50/264;H01M50/291;H01M50/213;H01M50/244;H01M50/258;H01M50/51;H01M50/512 |
| 分类 | 基本电气元件; |
| 申请人名称 | 保力新能源科技股份有限公司 |
| 申请人地址 | 陕西省西安市高新区科技二路65号6幢10701房 |
专利法律状态
2022-09-27
授权
状态信息
授权
摘要
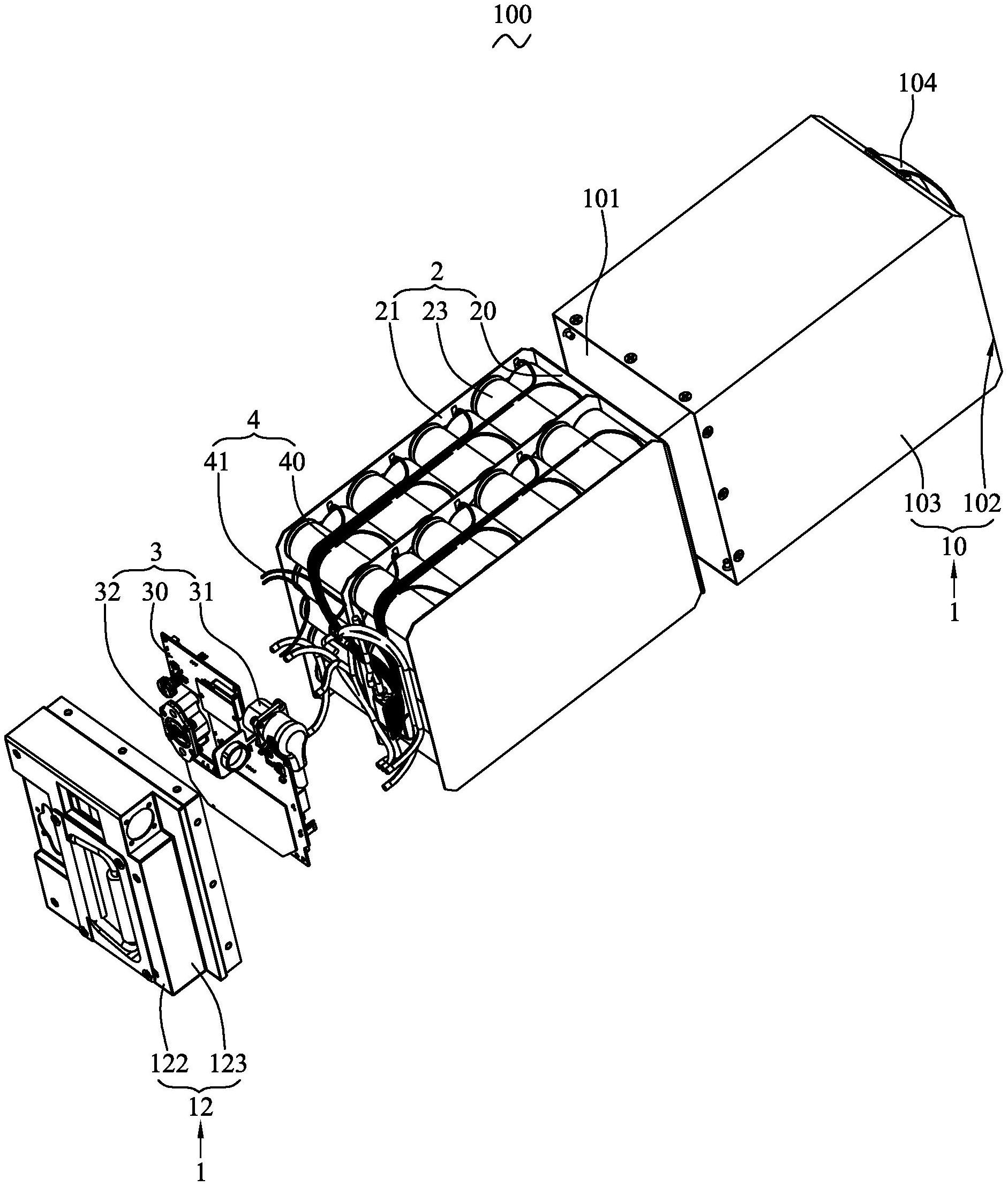
本实用新型公开一种电池模组,包括电池箱、电池组件以及连接组件;电池箱包括具有第一收容空间且一端开口的箱体及与箱体配合并将收容空间封闭的箱盖,连接组件装设于箱盖上并通过线束与容置在第一收容空间中的电池组件电连接;电池组件包括限位板、若干间隔竖立在限位板一侧的固定板以及若干电池单元,且每个电池单元固定于两个相邻的固定板之间,相邻的两个电池单元通过一个第一电连接件形成串联,且每个第一电连接件套在位于对应两个电池单元之间的固定板的边缘上。与现有技术相比,有益效果在于:通过固定板与限位板将电池单元固定在第一收容空间中,固定结构简单,利于电池模组的轻量化设计。


