授权公布号:CN220240628U
一种用于高压加热器卧装的装置
有效
申请
2023-06-07
申请公布
1970-01-01
授权
2023-12-26
预估到期
2033-06-07
| 申请号 | CN202321434281.2 |
| 申请日 | 2023-06-07 |
| 授权公布号 | CN220240628U |
| 授权公告日 | 2023-12-26 |
| 分类号 | B23P19/10;B66F19/00 |
| 分类 | 机床;不包含在其他类目中的金属加工; |
| 申请人名称 | 四川川锅锅炉有限责任公司 |
| 申请人地址 | 四川省成都市金堂县金堂工业园区川锅路188号 |
专利法律状态
2023-12-26
授权
状态信息
授权
摘要
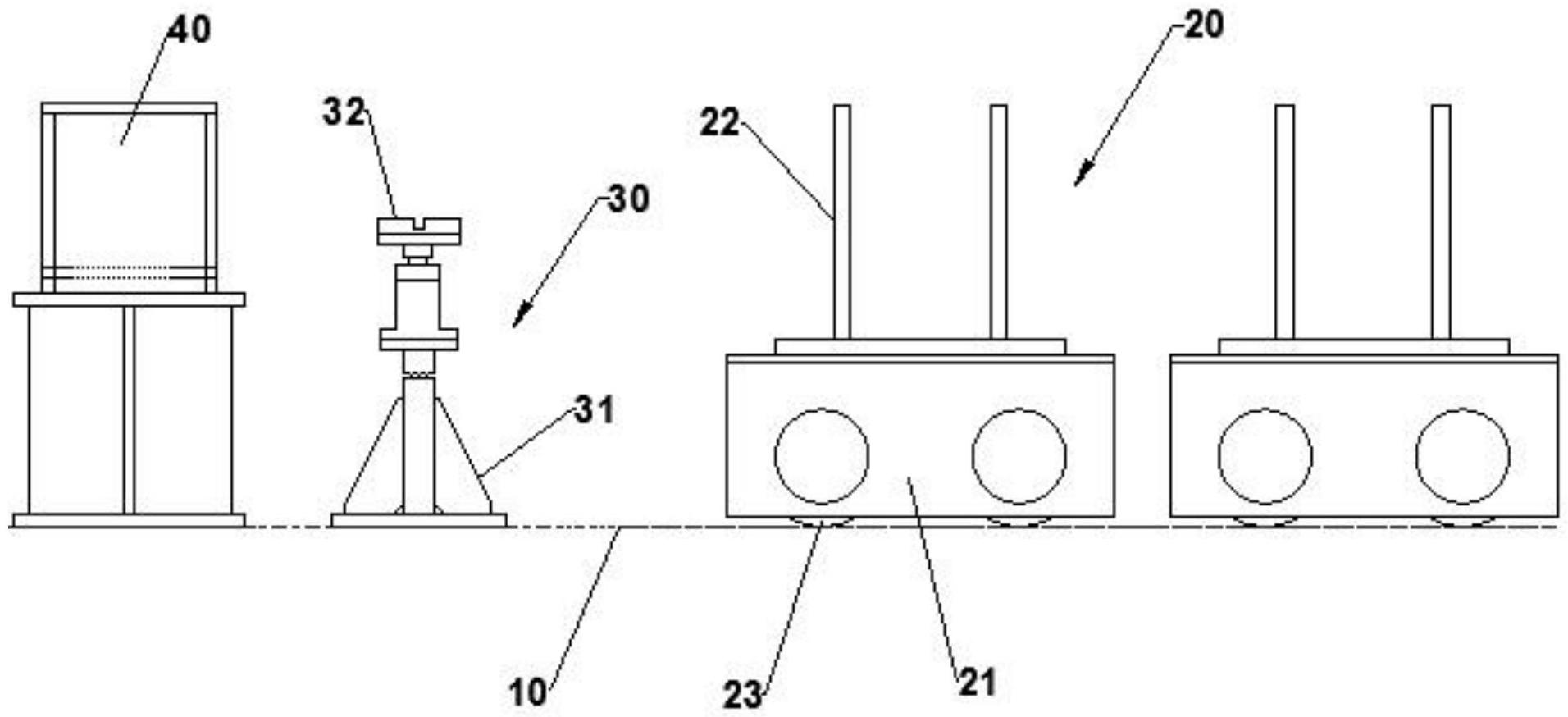
本实用新型涉及高压加热器技术领域,提供了一种用于高压加热器卧装的装置,与装配平台配合使用,其特征在于:包括:直轨道,所述直轨道固定安装在地面上;移动组件,所述移动组件包括小车、支撑块和驱动源,所述小车设置在所述直轨道上、且在所述直轨道上自由移动,所述支撑块固定安装在所述小车上、用于支撑筒身壳体,所述驱动源用于拉动所述小车移动;以及顶升组件,所述顶升组件包括支架和千斤顶,所述支架放置在地面上,所述千斤顶固定安装在所述支架上、用于顶升所述筒身壳体。


