授权公布号:CN219310763U
一种高效车床泵座夹具
有效
申请
2022-09-26
申请公布
1970-01-01
授权
2023-07-07
预估到期
2032-09-26
| 申请号 | CN202222557252.7 |
| 申请日 | 2022-09-26 |
| 授权公布号 | CN219310763U |
| 授权公告日 | 2023-07-07 |
| 分类号 | B23Q3/12 |
| 分类 | 机床;不包含在其他类目中的金属加工; |
| 申请人名称 | 四川川锅锅炉有限责任公司 |
| 申请人地址 | 四川省成都市金堂工业园区川锅路188号 |
专利法律状态
2023-07-07
授权
状态信息
授权
摘要
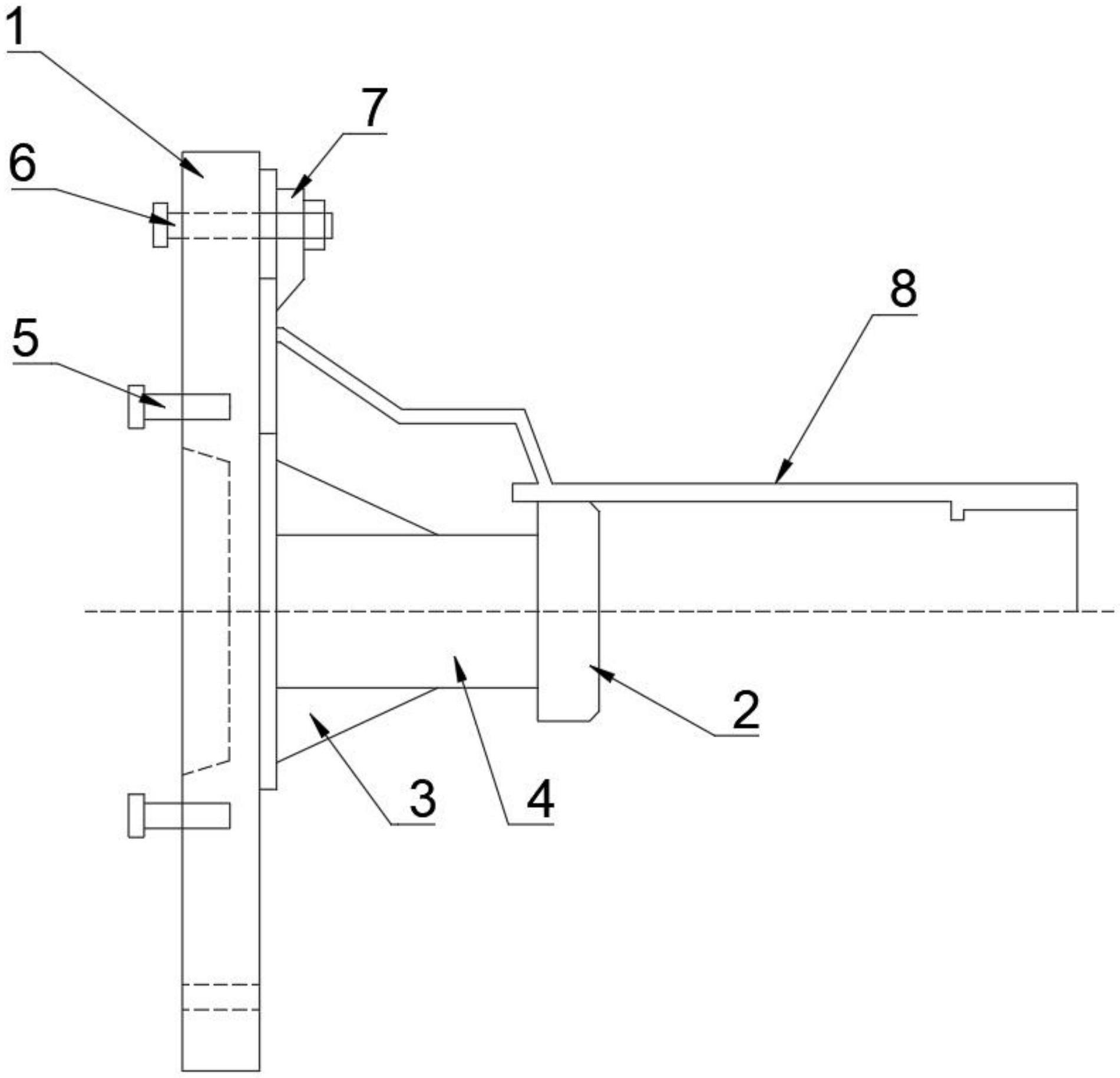
本实用新型提供一种高效车床泵座夹具,涉及机械加工技术领域,具体包括卡盘(1)、定位芯(2)和支撑杆(4),所述定位芯(2)通过支撑杆(4)安装固定在卡盘(1)的中心;所述定位芯(2)的外径与待加工泵座(8)的内径相配合;所述卡盘(1)的靠近定位芯(2)的一侧设有至少三个压板(7);所述卡盘(1)靠近车床的一侧开设有凹槽;所述压板(7)和所述卡盘(1)的间距可以调整。本实用新型能够快速定位装夹泵座,有效保证产品质量,解决了现有泵座生产周期长的技术问题。


