授权公布号:CN219131996U
一种钢印加工辅助座
有效
申请
2022-09-26
申请公布
1970-01-01
授权
2023-06-06
预估到期
2032-09-26
| 申请号 | CN202222543108.8 |
| 申请日 | 2022-09-26 |
| 授权公布号 | CN219131996U |
| 授权公告日 | 2023-06-06 |
| 分类号 | B25B11/00 |
| 分类 | 手动工具;轻便机动工具;手动器械的手柄;车间设备;机械手; |
| 申请人名称 | 四川川锅锅炉有限责任公司 |
| 申请人地址 | 四川省成都市四川省成都金堂工业园区川锅路188号 |
专利法律状态
2023-06-06
授权
状态信息
授权
摘要
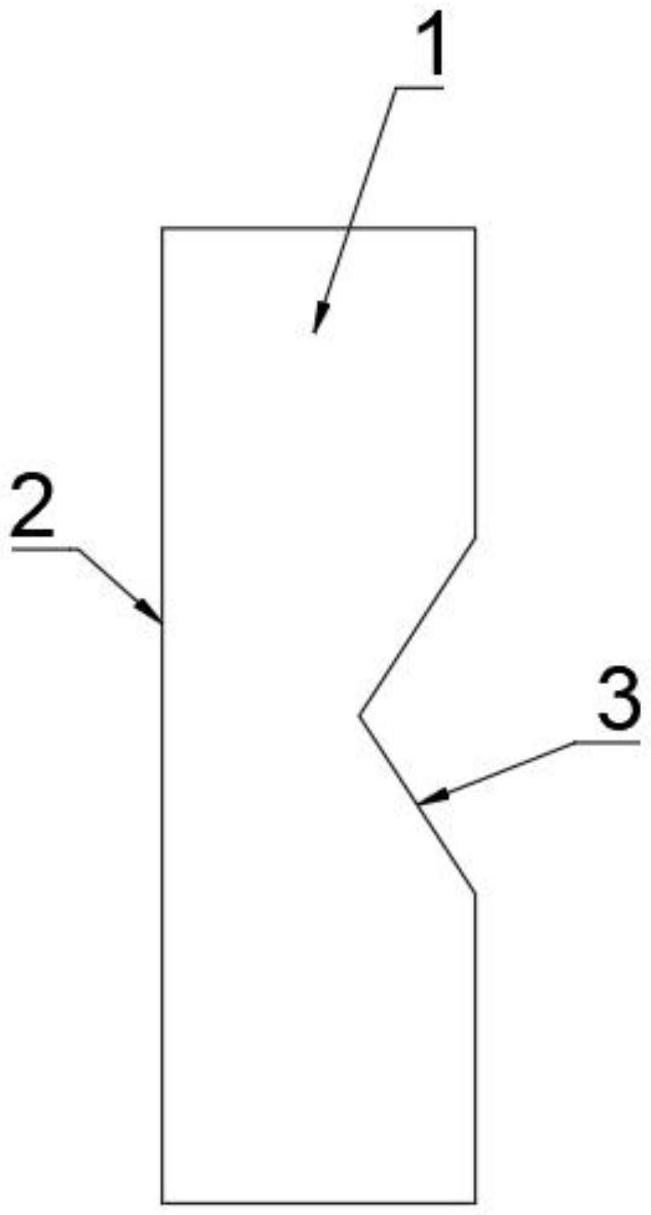
本实用新型提供一种钢印加工辅助座,涉及机械加工技术领域。该钢印加工辅助座包括辅助座本体(1),其中,所述辅助座本体(1)包括平面结构(2)和条形凹槽(3);所述平面结构(2)和所述条形凹槽(3)均能稳定朝向竖直上方。本实用新型能使得待加工零件在加工时不易打飞,确保钢印整齐,解决了现有技术捶打钢印难以固定的技术问题。


