授权公布号:CN210759038U
一种注塑机的塑化装置
有效
申请
2019-08-19
申请公布
1970-01-01
授权
2020-06-16
预估到期
2029-08-19
| 申请号 | CN201921348084.2 |
| 申请日 | 2019-08-19 |
| 授权公布号 | CN210759038U |
| 授权公告日 | 2020-06-16 |
| 分类号 | B29C45/47 |
| 分类 | 塑料的加工;一般处于塑性状态物质的加工; |
| 申请人名称 | 宁波海雄塑料机械有限公司 |
| 申请人地址 | 浙江省宁波市北仑区大碶甬江南路36号6幢1号 |
专利法律状态
2020-06-16
授权
状态信息
授权
摘要
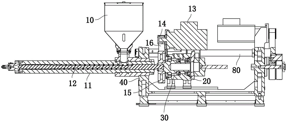
本实用新型公开了一种注塑机的塑化装置,包括基座、机筒以及注射座,所述机筒内设置有注射螺杆注,所述注射座内开设有安装腔;所述转动毂包括收容于安装腔内的转动部以及连接于转动部并从安装腔内延伸而出的安装部,所述注射螺杆的一端从机筒内延伸而出并与安装部连接;以及驱动组件,包括安装于注射座上的伺服电机、与伺服电机连接的第一带轮、与安装部连接的第二带轮以及啮合于第一带轮和第二带轮的同步带,通过增设转动毂并与注射螺杆连接实现同步转动,增大了注射螺杆转动时的转动惯量,降低外部的影响,并且增大了对注射螺杆的支撑区域,提高注射螺杆转动时的稳定性,对注射螺杆起到较好的保护,提升注射螺杆的使用寿命。


