授权公布号:CN205576032U
生物质高效气化反应炉
有效
申请
2016-03-12
申请公布
1970-01-01
授权
2016-09-14
预估到期
2026-03-12
| 申请号 | CN201620188604.8 |
| 申请日 | 2016-03-12 |
| 授权公布号 | CN205576032U |
| 授权公告日 | 2016-09-14 |
| 分类号 | C10J3/20 |
| 分类 | 石油、煤气及炼焦工业;含一氧化碳的工业气体;燃料;润滑剂;泥煤; |
| 申请人名称 | 广州迪森热能技术股份有限公司 |
| 申请人地址 | 广东省广州市广州经济技术开发区东区东众路42号 |
专利法律状态
2016-09-14
授权
状态信息
授权
摘要
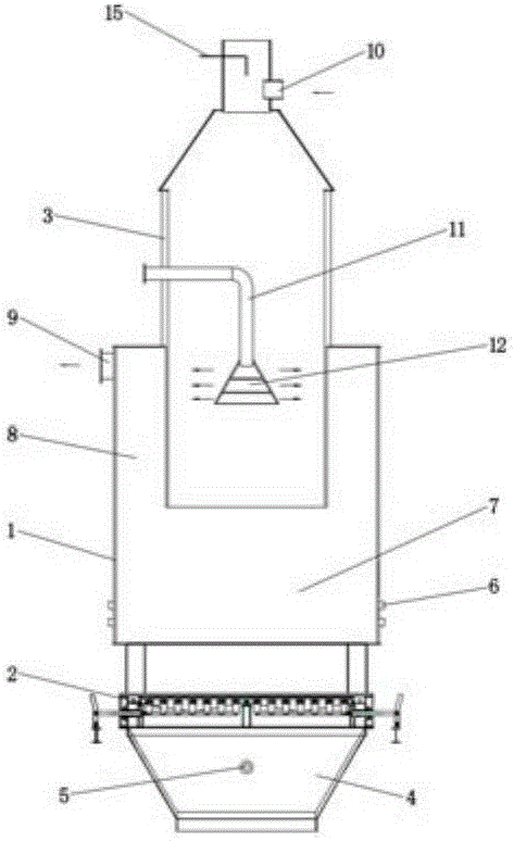
本实用新型公开了一种生物质高效气化反应炉,包括炉体和套设于炉体内的燃烧筒,所述燃烧筒中部架设风管,风管的出口端装配有形成向周边扩散喷吹风的布风罩。在三次风管出口端增设布风罩,风仅从布风罩周围喷出,增强了燃烧筒周边风量,充分利用壁体高温热辐射,使热辐射效果达到最大化,实现了中心和周边的均匀化燃烧。


