授权公布号:CN216963252U
一种快速定量取药装置
有效
申请
2021-11-16
申请公布
1970-01-01
授权
2022-07-15
预估到期
2031-11-16
| 申请号 | CN202122797633.8 |
| 申请日 | 2021-11-16 |
| 授权公布号 | CN216963252U |
| 授权公告日 | 2022-07-15 |
| 分类号 | A61M16/18;A61M16/01 |
| 分类 | 医学或兽医学;卫生学; |
| 申请人名称 | 北京谊安医疗系统股份有限公司 |
| 申请人地址 | 北京市丰台区外环西路26号院9号楼 |
专利法律状态
2022-07-15
授权
状态信息
授权
摘要
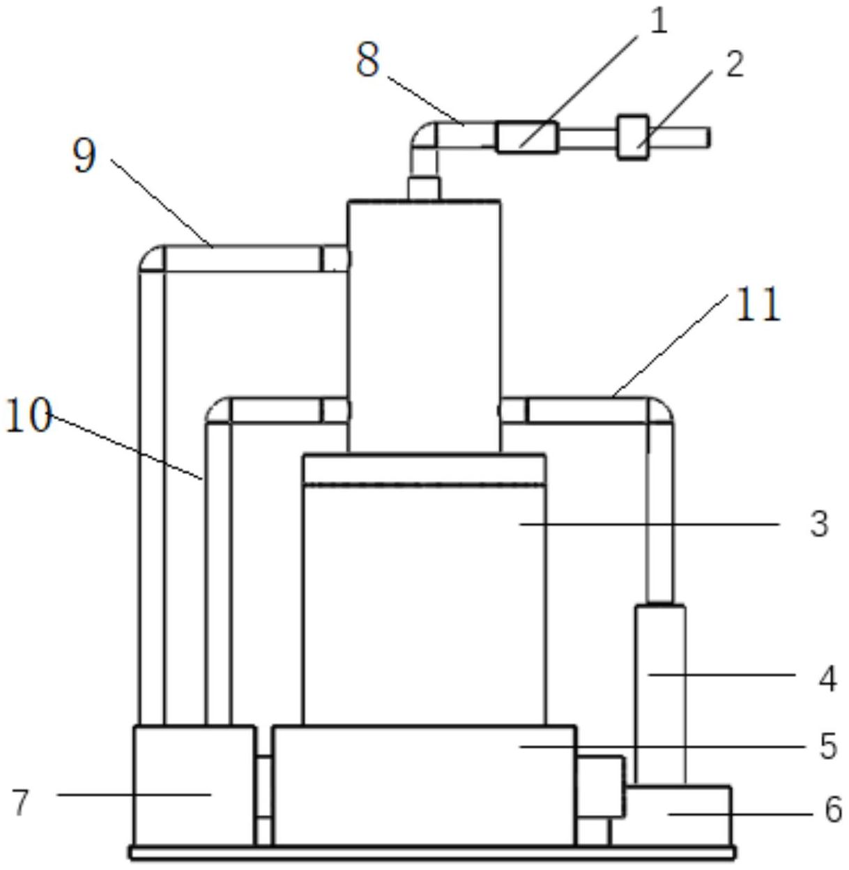
本实用新型涉及医疗药物技术领域,具体地说,是一种快速定量取药装置,包括进药管、麻药罐、出药管、柱塞、负压组件和检测组件,所述出药管的一端与检测组件连接,所述快速定量取药装置还包括水浴加热罐,所述麻药罐的底部放置在水浴加热罐内,麻药罐的顶部与出药管的另一端连接;所述麻药罐的一侧与负压组件连接;所述麻药罐的另一侧与进药管的一端连接,所述进药管的另一端与柱塞连接。所述进药管的另一端与柱塞连接。本实用新型解决了以往麻药蒸发速率慢的问题,简单实用,易于操作。


