授权公布号:CN209576817U
一种用于生产紫薯燕麦脆棒的精磨机
失效
申请
2019-01-22
申请公布
1970-01-01
授权
2019-11-05
预估到期
2029-01-22
| 申请号 | CN201920102991.2 |
| 申请日 | 2019-01-22 |
| 授权公布号 | CN209576817U |
| 授权公告日 | 2019-11-05 |
| 分类号 | B02C2/10;B02C23/02;B01F13/10 |
| 分类 | 破碎、磨粉或粉碎;谷物碾磨的预处理; |
| 申请人名称 | 江西阿颖金山药食品集团有限公司 |
| 申请人地址 | 江西省抚州市南昌县金山口工业区 |
专利法律状态
2022-12-30
专利权的终止
状态信息
未缴年费专利权终止;IPC(主分类):B02C2/10;申请日:20190122;授权公告日:20191105;终止日期:20220122
2019-11-05
授权
状态信息
授权
摘要
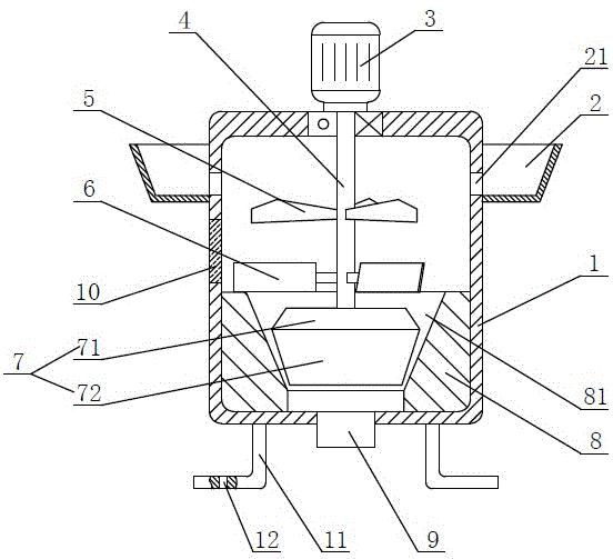
本实用公开了一种用于生产紫薯燕麦脆棒的精磨机,包括壳体、进料斗、搅拌电机、搅拌轴、搅拌叶、动磨盘、静磨盘和出料口,动磨盘与搅拌轴之间采用偏心的连接方式,使得动磨盘与静磨盘上对应两点之间的间隔周期变化,挤料板倾斜设置,且挤料板的挤料面与静磨盘上端面的夹角设置为30°‑45°,挤料板对物料产生向下的压力,进而对动磨盘和静磨盘之间的粉料产生一个向下的挤压力,其可提高磨盘的进料和出料速度,可以提高研磨后的粉料的细腻度,同时还可以避免粉料粘附在动磨盘和静磨盘之间。


