授权公布号:CN216005216U
一种医用分子筛制氧机增效节能装置
有效
申请
2021-10-23
申请公布
1970-01-01
授权
2022-03-11
预估到期
2031-10-23
| 申请号 | CN202122559980.7 |
| 申请日 | 2021-10-23 |
| 授权公布号 | CN216005216U |
| 授权公告日 | 2022-03-11 |
| 分类号 | C01B13/02;B08B1/00;B08B5/04;B08B13/00 |
| 分类 | 无机化学; |
| 申请人名称 | 北京神鹿医疗器械有限公司 |
| 申请人地址 | 北京市房山区琉璃河镇路村南白路口西南角 |
专利法律状态
2022-03-11
授权
状态信息
授权
摘要
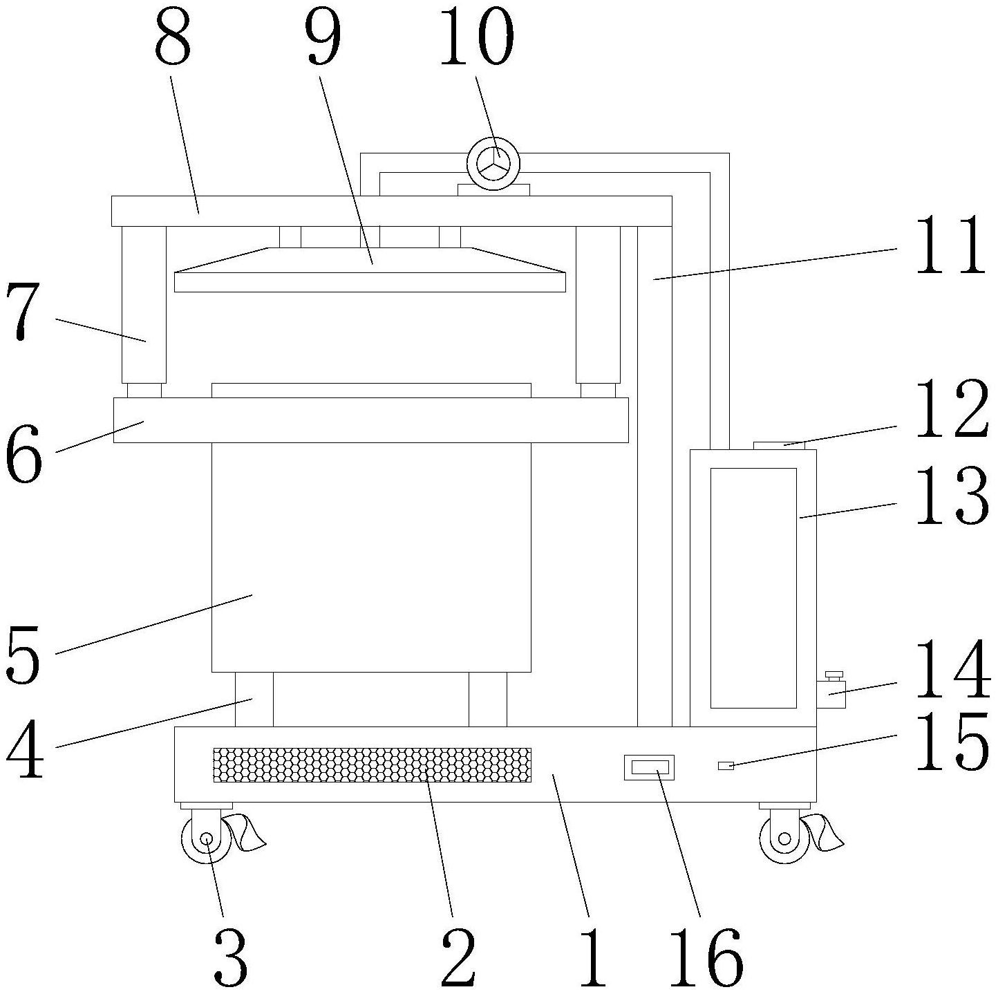
本实用新型公开了一种医用分子筛制氧机增效节能装置,包括底板,所述底板顶部左端的四周均固定连接有支撑杆,所述支撑杆的顶部固定连接有制氧机本体,所述底板顶部的右端固定连接有支撑板,所述支撑板的顶部固定连接有顶板,所述顶板的底部通过支架固定安装有吸盘,所述顶板底部的左右两端均固定连接有电动伸缩杆,电动伸缩杆的底部固定连接有回形板,回形板的内壁固定连接有毛刷。本实用新型通过通口、万向轮、回形板、电动伸缩杆、吸盘、风机、防尘网、集尘箱、电机、扇叶、通孔、排气口和毛刷相互配合,解决了现在的分子筛制氧机不具有除尘功能,导致分子筛制氧机的表面会积累大量灰尘,影响制氧机的工作效率的问题。


