授权公布号:CN215765104U
危险废弃物焚烧锅炉用防尘灰斗
有效
申请
2021-08-04
申请公布
1970-01-01
授权
2022-02-08
预估到期
2031-08-04
| 申请号 | CN202121805539.6 |
| 申请日 | 2021-08-04 |
| 授权公布号 | CN215765104U |
| 授权公告日 | 2022-02-08 |
| 分类号 | F23G5/00;F23G5/44;F23J15/02 |
| 分类 | 燃烧设备;燃烧方法; |
| 申请人名称 | 鞍山锅炉厂有限公司 |
| 申请人地址 | 辽宁省鞍山市千山区西临街16号 |
专利法律状态
2022-02-08
授权
状态信息
授权
摘要
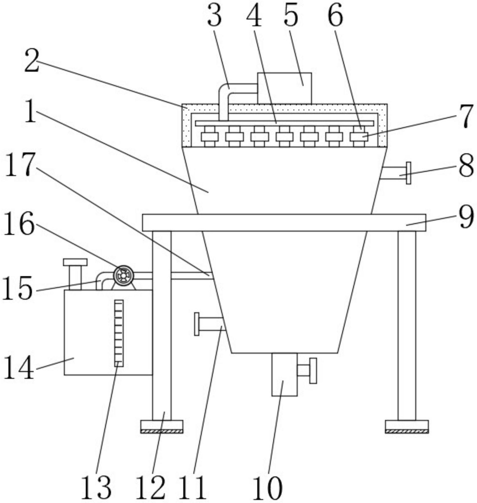
本实用新型公开了危险废弃物焚烧锅炉用防尘灰斗,包括灰斗本体和存液框,灰斗本体的顶部固定连接有安装架,安装架的顶部固定连接有热风机,热风机的出气端连通有出风管,出风管的底部连通有横管,横管的底部连通有竖管,竖管的底部与灰斗本体连通。本实用新型通过灰斗本体、出风管、横管、热风机、竖管、电磁阀、出气管、排出管、进气管、存液框、出水管、水泵、连接管、环形水管、滤网和钢网,可使装置达到使用效果好的功能,解决了现有市场上的危险废弃物焚烧锅炉用防尘灰斗不具备使用效果好的功能,危废中大都含有油脂,焚烧产生的灰尘中携带油脂易附着在灰斗的内腔,不利于使用者长时间使用的问题。


