授权公布号:CN215742566U
一种焚烧锅炉的烟气沉降和收集装置
有效
申请
2021-08-03
申请公布
1970-01-01
授权
2022-02-08
预估到期
2031-08-03
| 申请号 | CN202121793774.6 |
| 申请日 | 2021-08-03 |
| 授权公布号 | CN215742566U |
| 授权公告日 | 2022-02-08 |
| 分类号 | B01D47/06;B01D36/04 |
| 分类 | 一般的物理或化学的方法或装置; |
| 申请人名称 | 鞍山锅炉厂有限公司 |
| 申请人地址 | 辽宁省鞍山市千山区西临街16号 |
专利法律状态
2022-02-08
授权
状态信息
授权
摘要
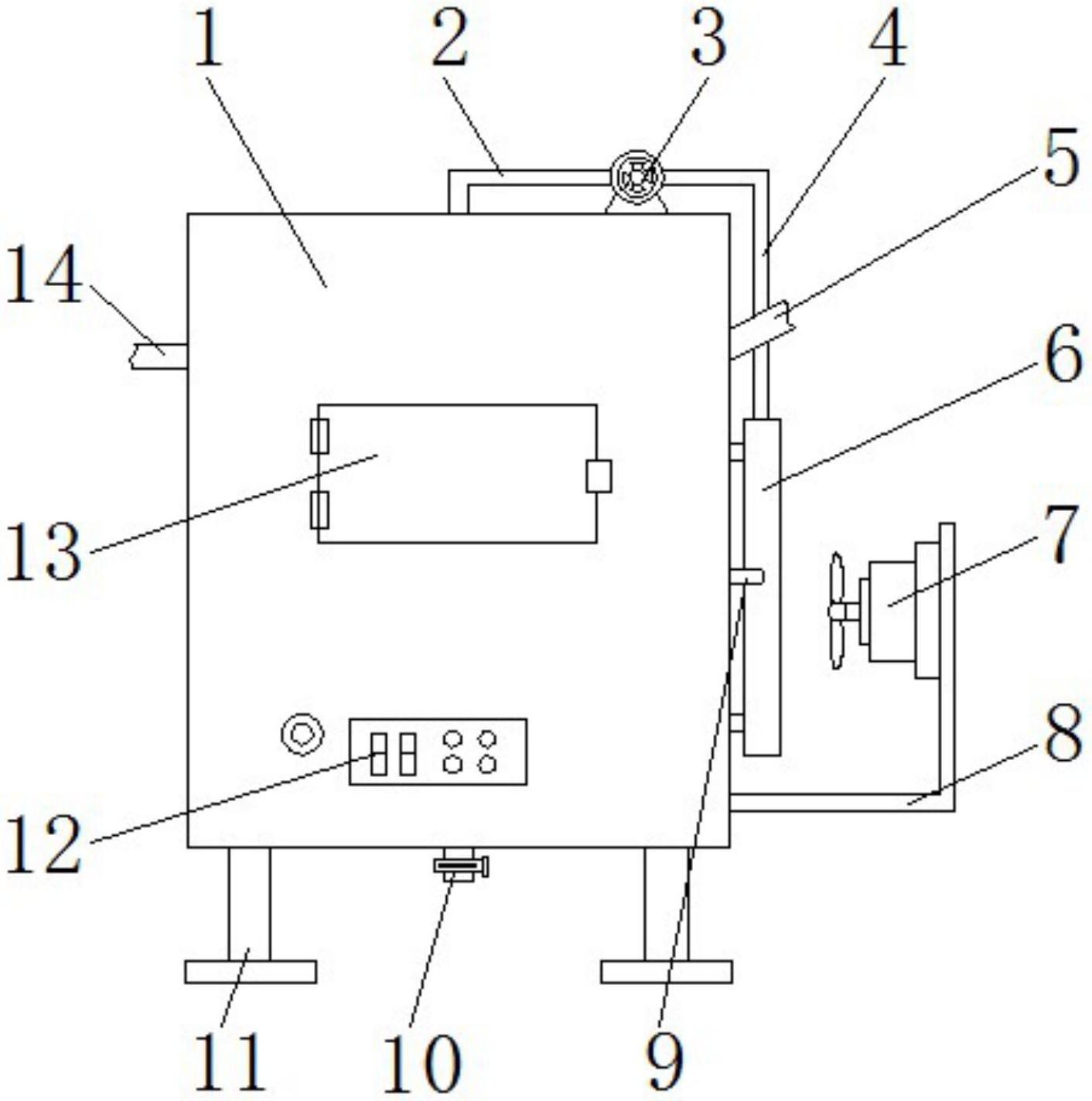
本实用新型公开了一种焚烧锅炉的烟气沉降和收集装置,包括处理箱,所述处理箱左侧的上端连通有进气管,所述处理箱右侧的上端连通有排气管,所述处理箱内腔的中央固定连接有隔板,所述隔板的内壁活动连接有过滤斗,所述处理箱内腔的底部固定连接有沉淀桶。本实用新型通过设置处理箱、排水管、水泵、抽水管、固定架、回水管和热交换管,能够对烟气进行冷却降尘,不仅降低了烟气的温度,而且有效去除了烟气中的颗粒杂质,循环水的利用达到了节能环保的效果,通过设置隔板和过滤斗,能够对烟气中的粉尘进行过滤收集,通过设置沉淀桶、控制阀门和过滤斗,能够对溶解后的细小杂质进行沉淀,并达到了便于排出的效果。


