授权公布号:CN215782257U
焚烧锅炉用炉内脱硝装置
有效
申请
2021-08-04
申请公布
1970-01-01
授权
2022-02-11
预估到期
2031-08-04
| 申请号 | CN202121804719.2 |
| 申请日 | 2021-08-04 |
| 授权公布号 | CN215782257U |
| 授权公告日 | 2022-02-11 |
| 分类号 | B01D46/12;B01D53/81;B01D53/56 |
| 分类 | 一般的物理或化学的方法或装置; |
| 申请人名称 | 鞍山锅炉厂有限公司 |
| 申请人地址 | 辽宁省鞍山市千山区西临街16号 |
专利法律状态
2022-02-11
授权
状态信息
授权
摘要
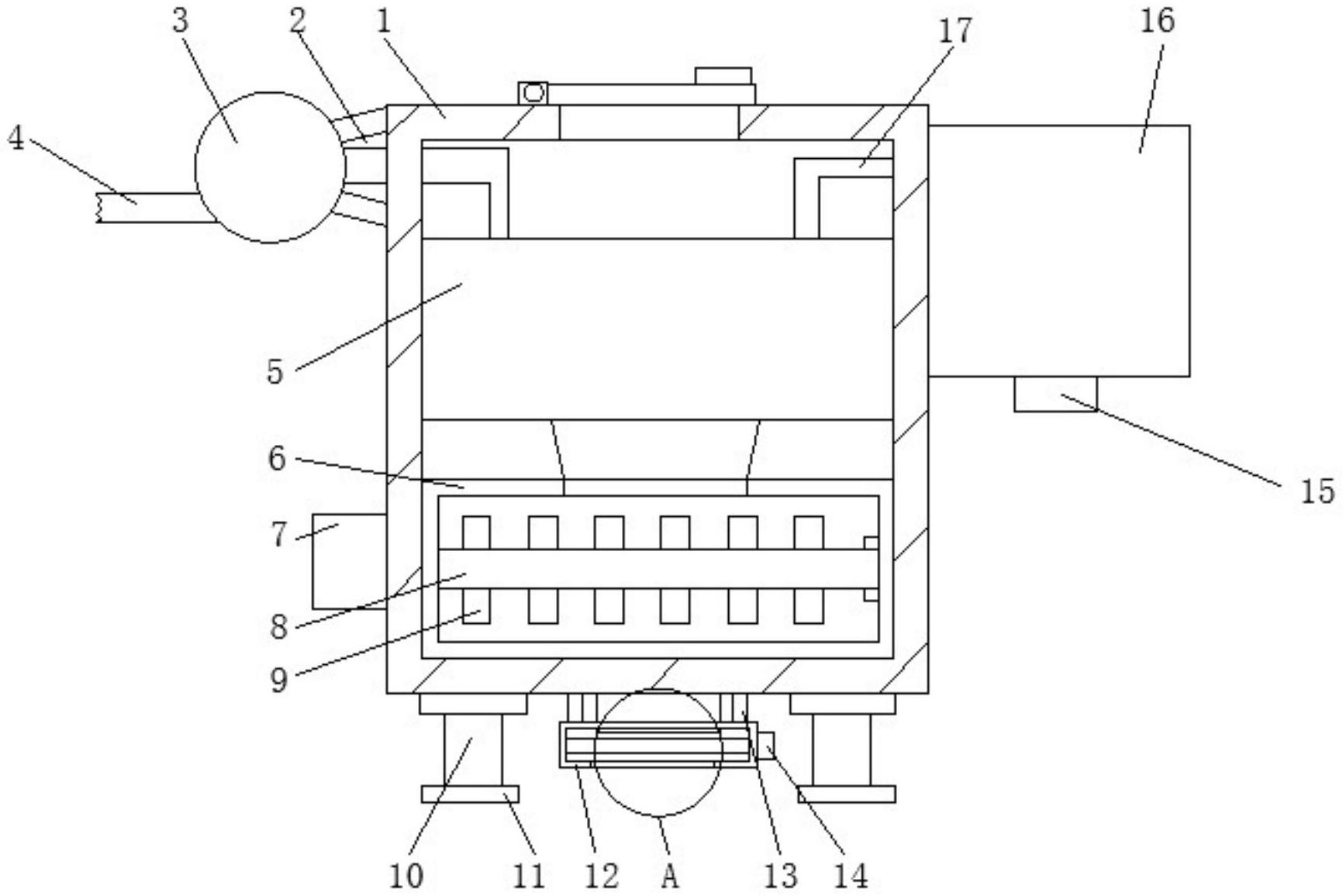
本实用新型公开了焚烧锅炉用炉内脱硝装置,包括煅烧箱,所述煅烧箱左侧的顶部固定安装有水泵,所述水泵的左侧固定连接有吸水管,所述水泵的右侧固定连接有出水管,所述煅烧箱右侧的顶部固定连接有壳体。本实用新型通过风机、吸风管、出风管、第一过滤板和第二过滤板的设置,可以起到过滤气体的作用,避免了出现有毒气体排出破坏大自然环境的现象,通过出水管、水泵和吸水管的设置,可以起到清理锅炉本体内壁硝尘的作用,避免了硝尘过多积累,导致出现焚烧效果差的现象,通过电机、搅拌杆和搅拌叶的设置,可以起到搅拌粉碎的作用,避免了因硝块过大,导致出现堵塞的现象,同时解决了现有的焚烧锅炉环保效果不好的问题。


