授权公布号:CN215808497U
一种用于危险废弃物焚烧锅炉的过热器
有效
申请
2021-08-10
申请公布
1970-01-01
授权
2022-02-11
预估到期
2031-08-10
| 申请号 | CN202121863670.8 |
| 申请日 | 2021-08-10 |
| 授权公布号 | CN215808497U |
| 授权公告日 | 2022-02-11 |
| 分类号 | F23G5/00;F23G5/44;F23G5/46;F22B1/22;F22G1/00 |
| 分类 | 燃烧设备;燃烧方法; |
| 申请人名称 | 鞍山锅炉厂有限公司 |
| 申请人地址 | 辽宁省鞍山市千山区西临街16号 |
专利法律状态
2022-02-11
授权
状态信息
授权
摘要
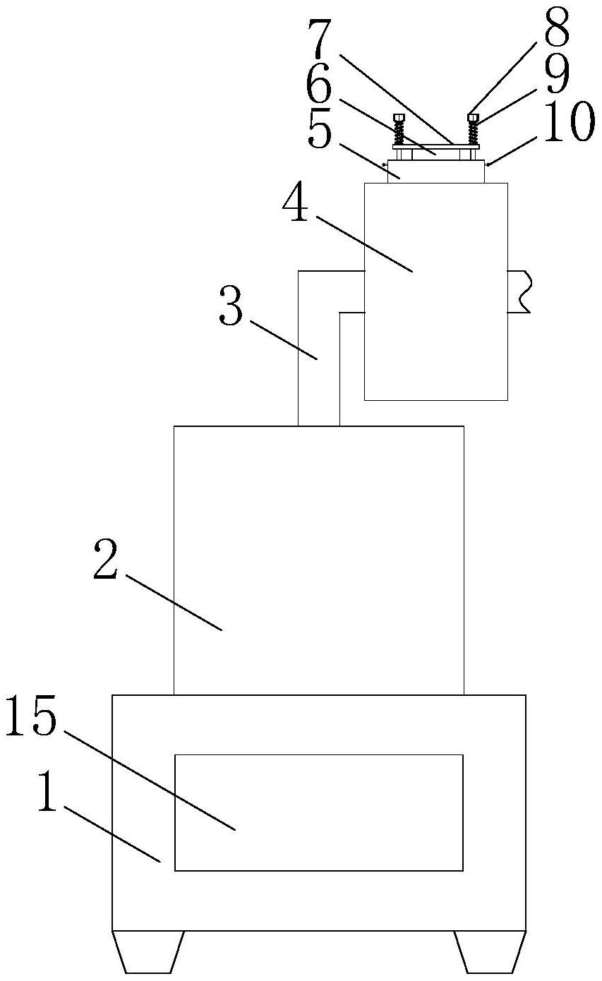
本实用新型公开了一种用于危险废弃物焚烧锅炉的过热器,包括焚烧炉,焚烧炉的顶部固定安装有锅炉,焚烧炉的正面开设有投放口,锅炉的顶部连通有导管,导管的右侧连通有加热箱,加热箱的顶部固定安装有第一安装块,第一安装块的顶部设置有第二安装块,第二安装块的内部设置有过热器。本实用新型通过设置焚烧炉用于对危险废弃物进行焚烧,通过设置锅炉用于将水加热并产生蒸汽,通过设置导管用于将蒸汽导入加热箱的内部,通过加热箱和过热器之间的配合实现将饱和蒸汽加热成过热蒸汽,从而提高蒸汽的循环热效率,同时解决了由于锅炉内部的水中含有水碱,从而附着在过热器的表面,从而降低热效率的传递的问题。


