授权公布号:CN211137909U
一种注塑机顶轴的定位安装结构
有效
申请
2019-09-09
申请公布
1970-01-01
授权
2020-07-31
预估到期
2029-09-09
| 申请号 | CN201921493529.6 |
| 申请日 | 2019-09-09 |
| 授权公布号 | CN211137909U |
| 授权公告日 | 2020-07-31 |
| 分类号 | B29C45/17 |
| 分类 | 塑料的加工;一般处于塑性状态物质的加工; |
| 申请人名称 | 浙江申达机器制造股份有限公司 |
| 申请人地址 | 浙江省杭州市西湖区转塘村口208号 |
专利法律状态
2020-07-31
授权
状态信息
授权
摘要
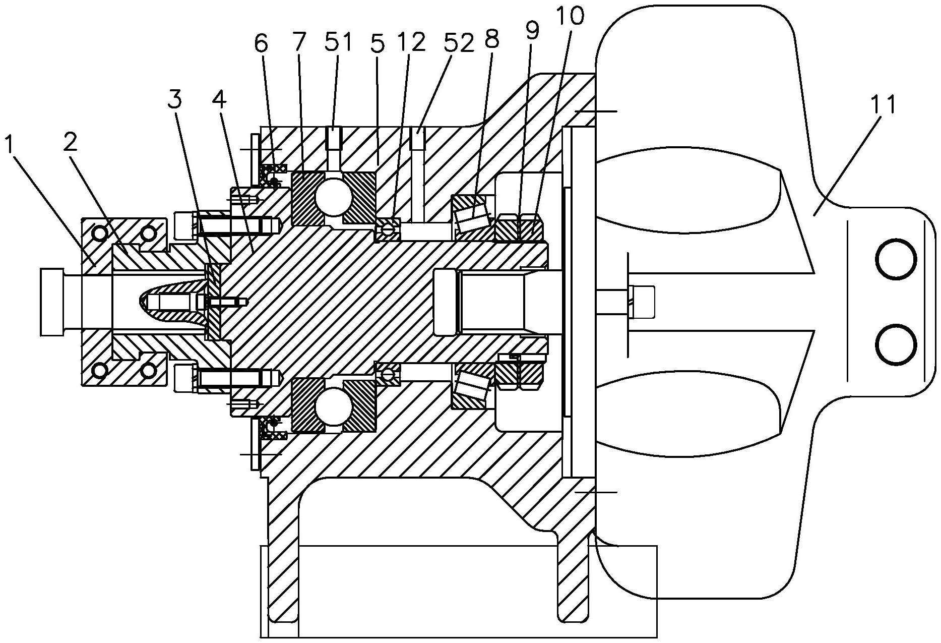
本实用新型涉及一种注塑机顶轴的定位安装结构,包括顶轴、推力座、深沟球轴承、推力球轴承和圆锥滚子轴承;推力球轴承、深沟球轴承和圆锥滚子轴承之间从左至右安装在顶轴上,并且推力球轴承、深沟球轴承和圆锥滚子轴承配合安装在推力座中;顶轴的右端和油马达连接,该油马达安装在推力座的右端;推力座的左端安装有油封,该油封套装在顶轴上。本申请中顶轴的定位安装结构系统稳定性好,深沟球轴承降低顶轴在旋转过程中发生径向位移跳动的风险。


