授权公布号:CN208084828U
注塑机喷嘴内的过滤结构
有效
申请
2018-03-09
申请公布
1970-01-01
授权
2018-11-13
预估到期
2028-03-09
| 申请号 | CN201820326438.2 |
| 申请日 | 2018-03-09 |
| 授权公布号 | CN208084828U |
| 授权公告日 | 2018-11-13 |
| 分类号 | B29C45/20 |
| 分类 | 塑料的加工;一般处于塑性状态物质的加工; |
| 申请人名称 | 浙江申达机器制造股份有限公司 |
| 申请人地址 | 浙江省杭州市西湖区转塘村口208号 |
专利法律状态
2018-11-13
授权
状态信息
授权
摘要
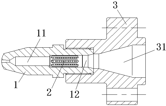
本实用新型提供一种注塑机喷嘴内的过滤结构,起到保护模具的作用,同时对熔融的塑料也有很好的均化效果。本实用新型包括喷嘴和前料筒,喷嘴和前料筒固定装配在一起;喷嘴的内部设置有喷嘴通道,前料筒的内部设置有前料筒通道;其特征在于:还包括过滤头;喷嘴的内部设置有内孔,喷嘴通道、内孔、前料筒通道依次连通;过滤头安装在内孔中,过滤头与内孔为间隙配合;过滤头的前部设置有过滤头前孔,后部设置有过滤头后孔,过滤头前孔与前料筒通道连通,过滤头后孔与喷嘴通道连通;过滤头的侧壁上设置有过滤头侧孔、纵向沟槽和过滤孔;过滤头前孔通过过滤孔与纵向沟槽连通,纵向沟槽通过过滤头侧孔与过滤头后孔连通。


