授权公布号:CN219120566U
一种纯燃污泥的循环流化床锅炉
有效
申请
2021-07-16
申请公布
1970-01-01
授权
2023-06-02
预估到期
2031-07-16
| 申请号 | CN202121625432.3 |
| 申请日 | 2021-07-16 |
| 授权公布号 | CN219120566U |
| 授权公告日 | 2023-06-02 |
| 分类号 | F23G5/30;F23G5/44;F23G5/50;F23G5/46 |
| 分类 | 燃烧设备;燃烧方法; |
| 申请人名称 | 太原锅炉集团有限公司 |
| 申请人地址 | 山西省太原市钢园路73号太原不锈钢产业园区C区10号 |
专利法律状态
2023-06-02
授权
状态信息
授权
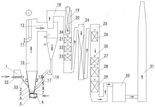
摘要
本发明公开了一种纯燃污泥的循环流化床锅炉,解决了如何开发一种适合纯燃污泥,并能达到大气污染物排放标准的循环硫化床锅炉的问题。在干化污泥仓(1)中的底部,设置有带有挖掘爪的拨料臂,入料口(2)是设置在炉膛密相区负压区(3)中的,干化污泥(8)通过入料口进入炉膛中,在炉膛稀相区(10)中,设置有高温过热屏(11);圆柱状筒体(14)的直径与返料管的直径的比值为5‑10;圆柱状筒体(14)的高度与锥形过渡筒体(15)的高度的比值为0.3‑1,返料管的高度为2米‑9米;在尾部第一烟道(19)中设置有水冷蒸发管束(20),在尾部第二烟道中设置有高温电除尘器(24)。保证了锅炉能长期稳定安全地运行。


