授权公布号:CN216603784U
血泵磁耦合驱动装置及血泵
有效
申请
2021-12-01
申请公布
1970-01-01
授权
2022-05-27
预估到期
2031-12-01
| 申请号 | CN202122994226.6 |
| 申请日 | 2021-12-01 |
| 授权公布号 | CN216603784U |
| 授权公告日 | 2022-05-27 |
| 分类号 | A61M60/113;A61M60/216;A61M60/419 |
| 分类 | 医学或兽医学;卫生学; |
| 申请人名称 | 北京航天长峰股份有限公司 |
| 申请人地址 | 北京市海淀区永定路51号航天数控大楼 |
专利法律状态
2022-05-27
授权
状态信息
授权
摘要
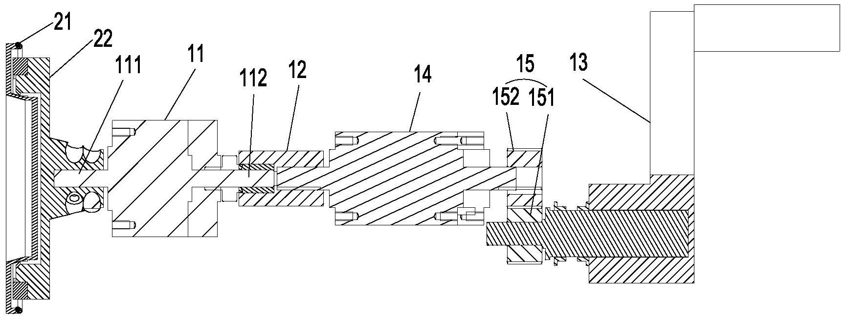
本实用新型公开了一种血泵磁耦合驱动装置及血泵,该血泵磁耦合驱动装置包括:电机,其具有第一伸出轴和与所述第一伸出轴转动连接的第二伸出轴,所述第一伸出轴与血泵头连接,以使血泵头内的血液输出;单向传动器,所述单向传动器的输出端与所述第二伸出轴连接;手摇驱动机构,所述手摇驱动机构的输出端与所述单向传动器连接;其中,所述手摇驱动机构通过所述单向传动器带动所述第二伸出轴转动。本实用新型提供的血泵磁耦合驱动装置可实现手动和电动的一体化,无需拆换电机驱动头和备用手动驱动头,避免了拆换的过程带来血泵的停运,对患者血液循环带来不利的冲击,医护人员在紧急情况下的操作变得简单易行,并可避免医护人员操作错误的风险。


