授权公布号:CN218060660U
一种双排式地漏
有效
申请
2022-08-24
申请公布
1970-01-01
授权
2022-12-16
预估到期
2032-08-24
| 申请号 | CN202222230300.1 |
| 申请日 | 2022-08-24 |
| 授权公布号 | CN218060660U |
| 授权公告日 | 2022-12-16 |
| 分类号 | E03F5/04;E03F5/06;E03F5/14;E03C1/184 |
| 分类 | 给水;排水; |
| 申请人名称 | 浙江返必克排水科技有限公司 |
| 申请人地址 | 浙江省台州市玉环市楚门镇中山村工业区 |
专利法律状态
2022-12-16
授权
状态信息
授权
摘要
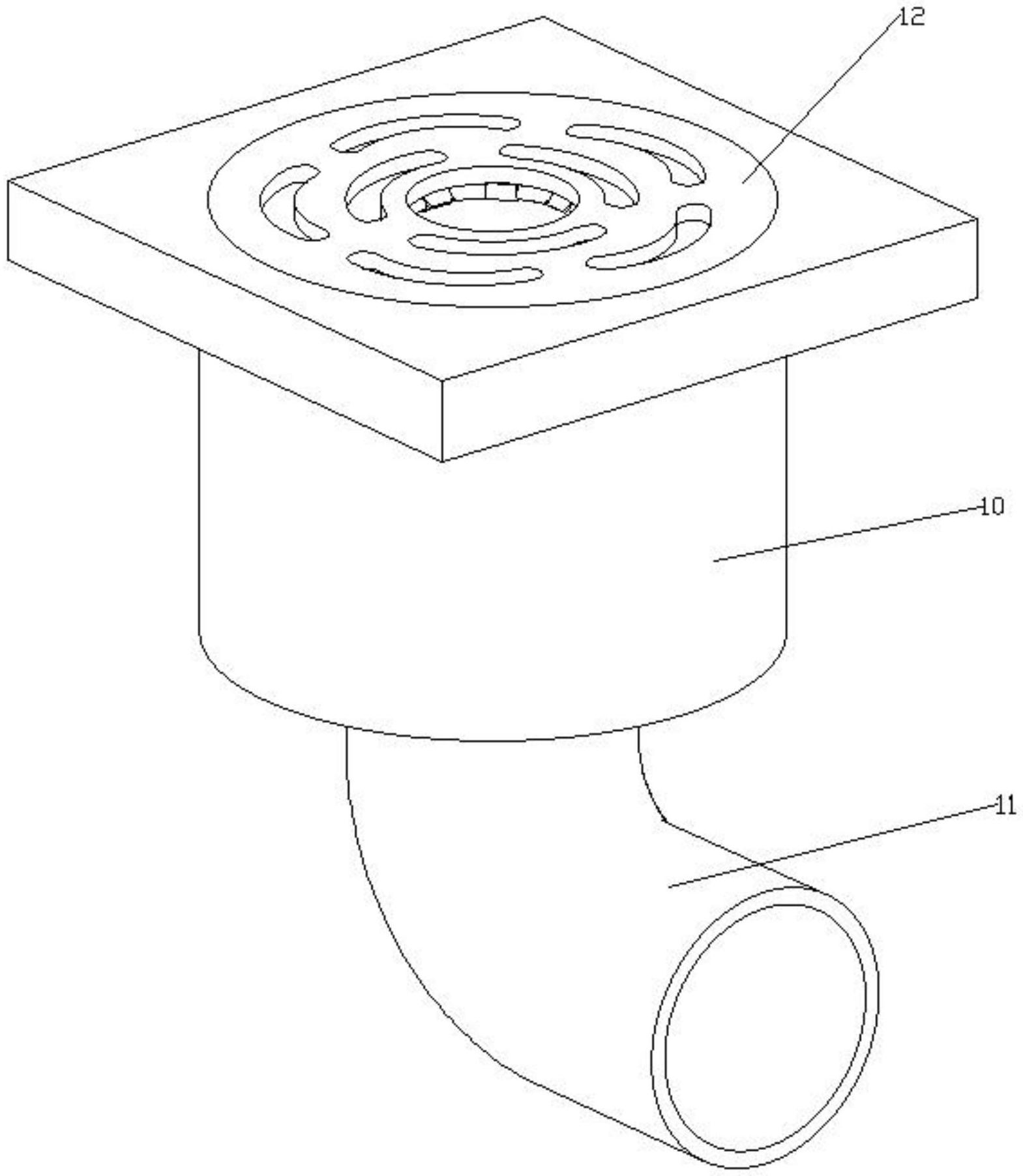
本实用新型公开了一种双排式地漏,属于地漏技术领域。一种双排式地漏,包括内部中空外壳,且所述外壳沿高度方向的两个端面分别设有开口,所述外壳下端面的开口处设有管接头,所述外壳远离所述管接头的开口处可拆卸设有第一端盖,所述第一端盖朝向所述外壳内部的端面上设有第一限位机构,所述外壳内设有第二限位机构。本实用新型的双排式地漏可以实现地面排水和洗衣机排水的双向使用,同时保证洗衣机排水管在地漏上安装的稳定性。


