授权公布号:CN215783558U
一种卧式双辊碾米机
有效
申请
2021-07-07
申请公布
1970-01-01
授权
2022-02-11
预估到期
2031-07-07
| 申请号 | CN202121535223.X |
| 申请日 | 2021-07-07 |
| 授权公布号 | CN215783558U |
| 授权公告日 | 2022-02-11 |
| 分类号 | B02B3/04;B02B7/00 |
| 分类 | 破碎、磨粉或粉碎;谷物碾磨的预处理; |
| 申请人名称 | 湖北永祥粮食机械股份有限公司 |
| 申请人地址 | 湖北省孝感市安陆市府河大道8号 |
专利法律状态
2022-02-11
授权
状态信息
授权
摘要
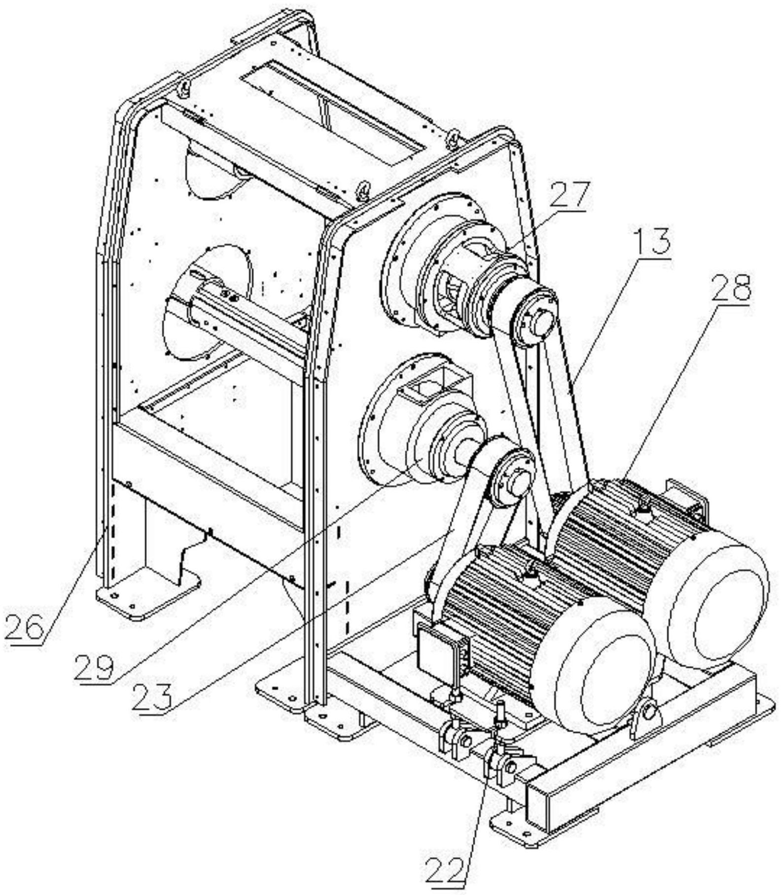
本实用新型公开了一种卧式双辊碾米机,包括上主轴运行装置、下主轴运行装置、传动装置、驱动装置和机架,所述上主轴运行装置和下主轴运行装置呈上下布置的安装在机架中,驱动装置包括两个水平布置的驱动电机和底座,其中一个驱动电机的输出端通过传动装置与上主轴运行装置连接,另一个驱动电机的输出端通过另外的传动装置与下主轴运行装置连接,两个驱动电机的接入电路上均设有电流显示设备。采用两台驱动电机分别带动上、下主轴运行装置同时运转,每根主轴所背负荷大小通过各自驱动电机电流值大小显示出来,操作者根据电流值大小调节各根主轴碾米时压力大小,从而达到控制大米的加工精度和出米率的目的。


