授权公布号:CN215275781U
一种浓缩枇杷提取物的加工设备
有效
申请
2021-05-24
申请公布
1970-01-01
授权
2021-12-24
预估到期
2031-05-24
| 申请号 | CN202121118818.5 |
| 申请日 | 2021-05-24 |
| 授权公布号 | CN215275781U |
| 授权公告日 | 2021-12-24 |
| 分类号 | B01D1/00;B01D1/30;B01F7/32 |
| 分类 | 一般的物理或化学的方法或装置; |
| 申请人名称 | 福建省神蜂科技开发有限公司 |
| 申请人地址 | 福建省福州市仓山区建新镇洪山桥遂道口316国道北侧 |
专利法律状态
2021-12-24
授权
状态信息
授权
摘要
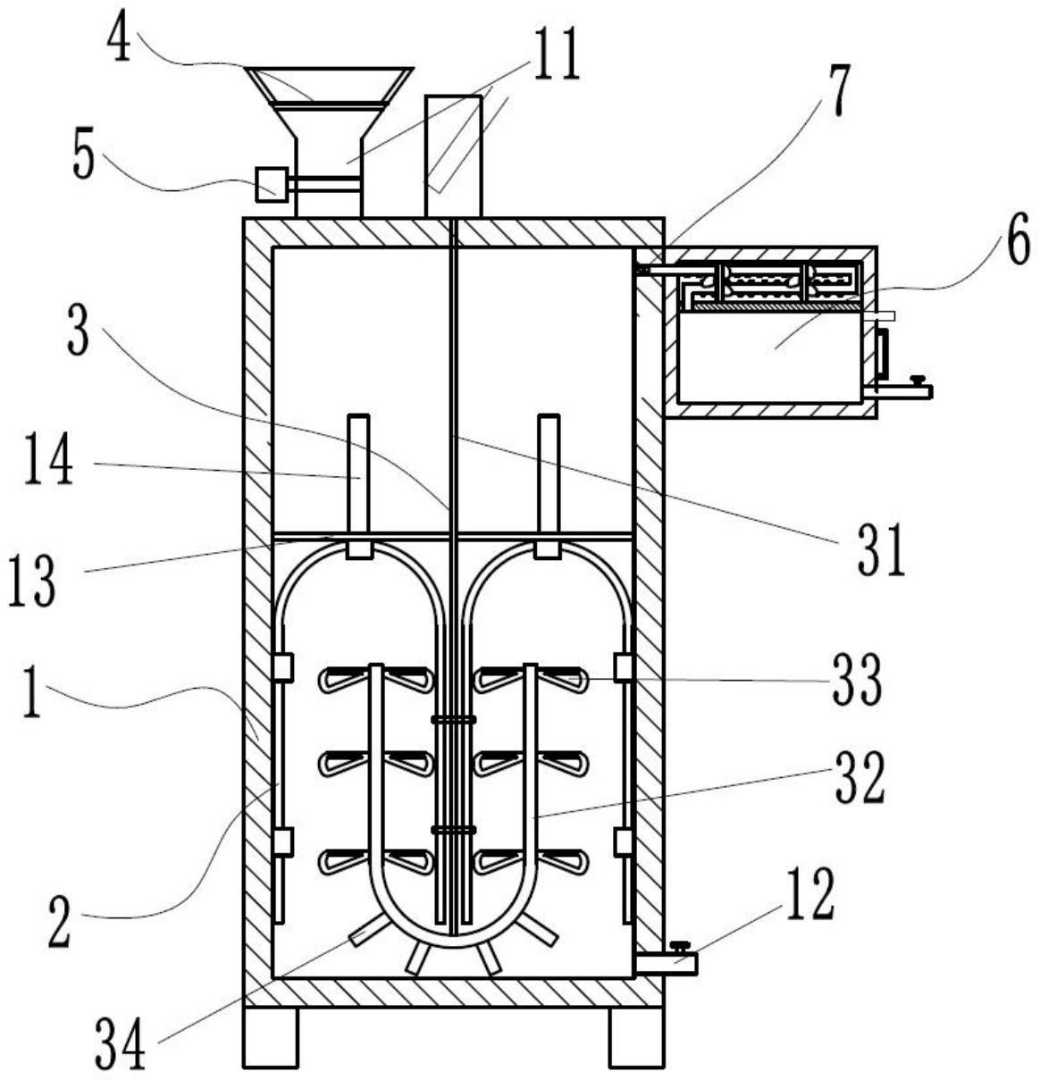
本实用新型公开了一种浓缩枇杷提取物的加工设备,包括:浓缩箱,浓缩箱的入料口内放置有一过滤网,且入料口处设有蝶阀,浓缩箱的出料口处设有手动球阀;多个设置在浓缩箱内侧面上且沿环形均匀分布的U形加热管,加热管的开口面向浓缩箱的底部,且加热管沿径向面设置;搅拌机构,搅拌机构包括枢接在浓缩箱内的搅拌轴和设置在搅拌轴底部的U形架,U形架的两侧臂向上延伸,且侧臂位于加热管的U形口内,侧臂上设有多个搅拌叶桨;固定设置在浓缩箱外侧的回收模块,回收模块内具有冷凝模块,回收模块的进气口与浓缩箱连通,且进气口处设有单向阀。本实用新型使浓缩过程中受热均匀,浓缩效果好,且易于回收溶剂或水。


