授权公布号:CN218764019U
一种直通式燃氢热水锅炉
有效
申请
2022-11-09
申请公布
1970-01-01
授权
2023-03-28
预估到期
2032-11-09
| 申请号 | CN202222971618.5 |
| 申请日 | 2022-11-09 |
| 授权公布号 | CN218764019U |
| 授权公告日 | 2023-03-28 |
| 分类号 | F24H9/1836;F28B9/08;F23J11/00 |
| 分类 | 供热;炉灶;通风; |
| 申请人名称 | 江苏双良锅炉有限公司 |
| 申请人地址 | 江苏省无锡市江阴市临港街道利港西利路115号 |
专利法律状态
2023-03-28
授权
状态信息
授权
摘要
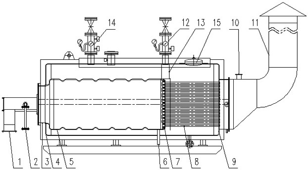
本实用新型涉及一种直通式燃氢热水锅炉,包括炉体、燃氢燃烧器、炉膛、螺纹烟管组和烟囱,所述炉体内设有炉膛和螺纹烟管组,所述燃氢燃烧器设置在炉体前端,炉膛和燃氢燃烧器通过燃烧器连接筒节连接,所述炉膛后管板连接螺纹烟管组,所述炉体后端通过出烟口连接烟囱,所述燃氢燃烧器、炉膛、螺纹烟管组和出烟口在同一水平直线上。本实用新型采用卧式设置,氢气产生的冷凝水由炉膛凝水放水管排出,不会倒灌进入燃烧器,保证氢气燃烧稳定,同时防止氢气燃烧过程产生的凝水积聚腐蚀炉膛;直通式结构不会产生氢气积聚,降低爆炸风险,安全性更高。


