授权公布号:CN214698005U
二冲程发动机负压吸风结构消音器
有效
申请
2021-06-18
申请公布
1970-01-01
授权
2021-11-12
预估到期
2031-06-18
| 申请号 | CN202121358869.5 |
| 申请日 | 2021-06-18 |
| 授权公布号 | CN214698005U |
| 授权公告日 | 2021-11-12 |
| 分类号 | F01N3/28;F01N3/05;F01N3/06;F01N13/00 |
| 分类 | 一般机器或发动机;一般的发动机装置;蒸汽机; |
| 申请人名称 | 山东永佳动力股份有限公司 |
| 申请人地址 | 山东省临沂市经济技术开发区昆明路南段 |
专利法律状态
2021-11-12
授权
状态信息
授权
摘要
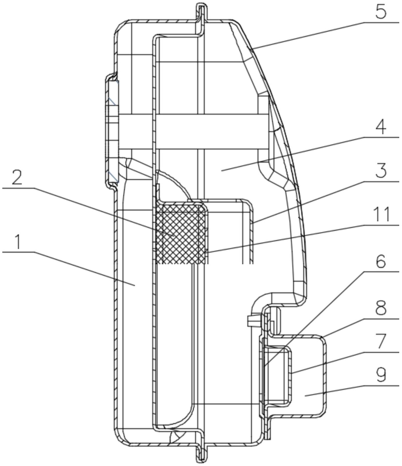
本实用新型公开了一种二冲程发动机负压吸风结构消音器,它属于内燃机领域,其解决了现有技术中缺少一种结构简单,能够有效降低排气温度的二冲程发动机负压吸风结构消音器的问题。它主要包括后腔室和前腔室,后腔室的腔壁上设有催化腔,所述前腔室内设有背压腔;所述前腔室的前盖上设有出气口,出气口上设有防火网;所述出气口外设有排气口,排气口外设有排气口上盖,排气口上盖与前盖连接;所述前盖上且位于排气口上盖一侧处设有排气口导风板。本实用新型主要用于内燃机。


