授权公布号:CN214698143U
启动器手柄
有效
申请
2021-06-18
申请公布
1970-01-01
授权
2021-11-12
预估到期
2031-06-18
| 申请号 | CN202121360288.5 |
| 申请日 | 2021-06-18 |
| 授权公布号 | CN214698143U |
| 授权公告日 | 2021-11-12 |
| 分类号 | F02N3/02 |
| 分类 | 燃烧发动机;热气或燃烧生成物的发动机装置; |
| 申请人名称 | 山东永佳动力股份有限公司 |
| 申请人地址 | 山东省临沂市经济技术开发区昆明路南段 |
专利法律状态
2021-11-12
授权
状态信息
授权
摘要
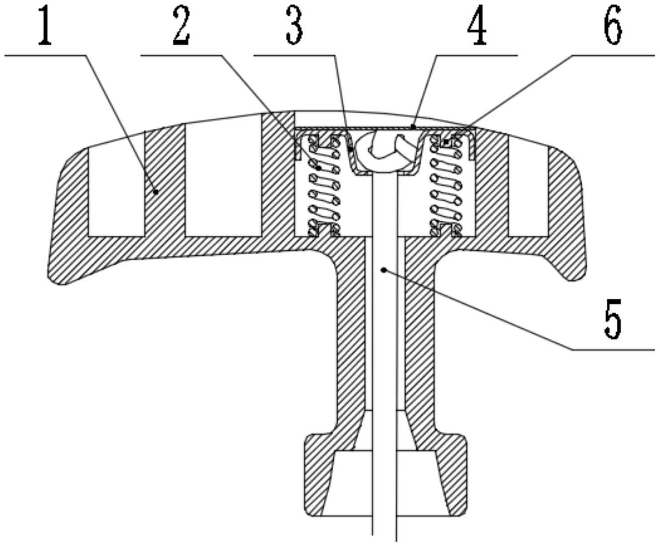
本实用新型公开了一种启动器手柄,它属于园林机械领域,其解决了现有技术中缺少一种有效防止拉动手柄时受力忽大忽小且速度不均匀情况发生的启动器手柄的问题。它主要包括柄体,柄体内设有安装腔,所述安装腔内设有安装板,安装板下平面和安装腔内分别设有限位柱,两限位柱之间设有弹簧;所述安装板固定有拉绳;所述安装板上方设有手柄盖。本实用新型主要用于发动机启动时拉动启动器手柄。


