授权公布号:CN211022506U
洗碗机
有效
申请
2018-01-18
申请公布
1970-01-01
授权
2020-07-17
预估到期
2028-01-18
| 申请号 | CN201820086333.4 |
| 申请日 | 2018-01-18 |
| 授权公布号 | CN211022506U |
| 授权公告日 | 2020-07-17 |
| 分类号 | A47L15/00;A47L15/42 |
| 分类 | 家具;家庭用的物品或设备;咖啡磨;香料磨;一般吸尘器; |
| 申请人名称 | 高达食品设备有限公司 |
| 申请人地址 | 天津市西青区西青经济开发区业盛道8号 |
专利法律状态
2020-07-17
授权
状态信息
授权
摘要
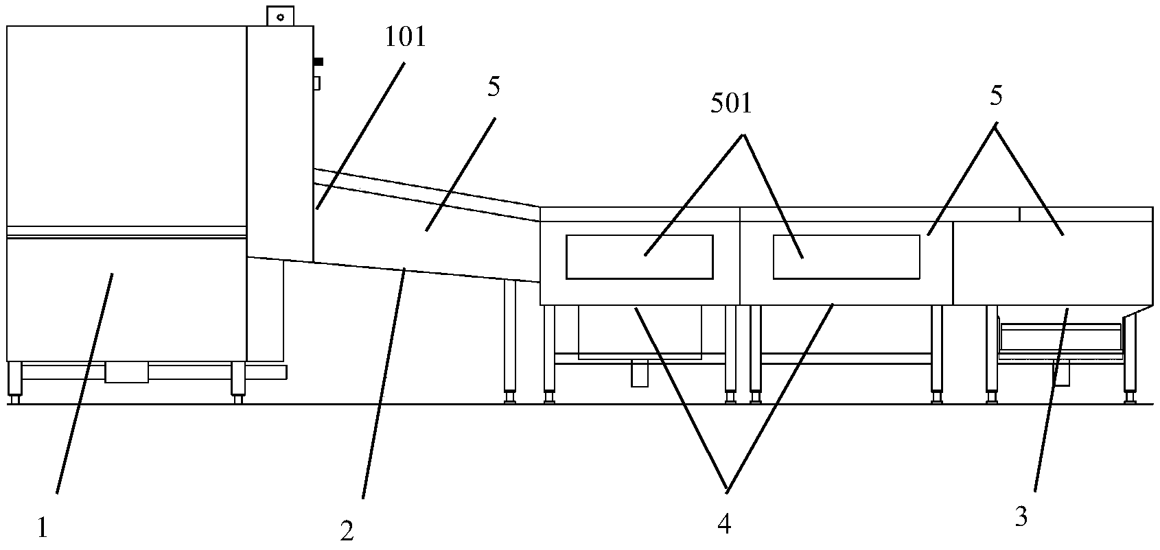
本实用新型提出一种洗碗机,包括洗碗机本体,所述洗碗机本体上设有碗机入口;所述碗机入口连接有向下倾斜的第一斜段,所述第一斜段的倾斜末端用于连接至餐具放置处;所述第一斜段上设有传送装置,所述传送装置用于将所述第一斜段上的餐具传送至所述洗碗机本体中。通过本实用新型的洗碗机,降低了洗碗机与餐具放置处的连接高度,符合操作者的操作习惯,降低了操作者的劳动强度,提高了洗碗机的工作效率。


