授权公布号:CN111503089B
一种基于气缸动态运行检测仪的检测方法
有效
申请
2020-04-17
申请公布
2020-08-07
授权
2022-03-18
预估到期
2040-04-17
| 申请号 | CN202010303146.9 |
| 申请日 | 2020-04-17 |
| 申请公布号 | CN111503089A |
| 申请公布日 | 2020-08-07 |
| 授权公布号 | CN111503089B |
| 授权公告日 | 2022-03-18 |
| 分类号 | F15B19/00 |
| 分类 | 流体压力执行机构;一般液压技术和气动技术; |
| 申请人名称 | 安徽捷迅光电技术有限公司 |
| 申请人地址 | 安徽省合肥市新站区工业园萧城路6号 |
专利法律状态
2022-03-18
授权
状态信息
授权
2020-08-07
公布
状态信息
公布
摘要
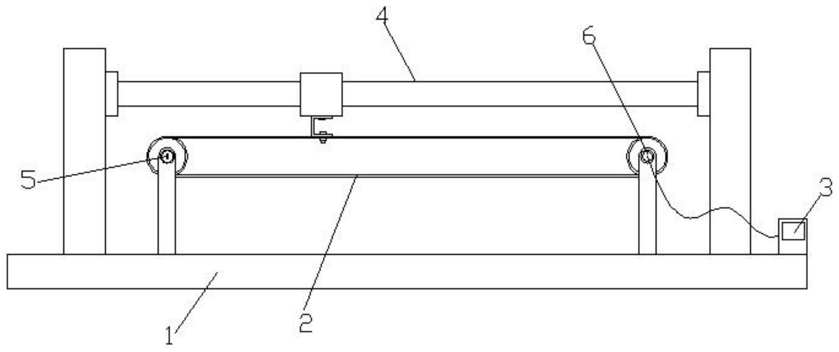
本发明公开一种基于气缸动态运行检测仪的检测方法。气缸动态运行检测仪包括底板、齿形传送带、数据波形显示器,所述底板上水平架设有被检测气缸,所述齿形传送带水平设置在所述底板上,且位于所述被检测气缸的正下方,所述齿形传送带的传动方向与所述被检测气缸的轴向平行,所述齿形传送带与所述被检测气缸上的滑块连接,所述齿形传送带的左侧传送轮轮轴上设有阻尼器,齿形传送带的右侧传送轮轮轴上设有编码器,所述编码器线性连接所述数据波形显示器。本发明气缸动态运行检测仪结构简单,操作方便,实验方法快捷有效,提高了气缸质检的工作效率,保证了企业产品的投产质量。


