授权公布号:CN205758736U
一种监护仪医疗设备的挂钩装置
有效
申请
2016-01-19
申请公布
1970-01-01
授权
2016-12-07
预估到期
2026-01-19
| 申请号 | CN201620048494.5 |
| 申请日 | 2016-01-19 |
| 授权公布号 | CN205758736U |
| 授权公告日 | 2016-12-07 |
| 分类号 | A61B90/50 |
| 分类 | 医学或兽医学;卫生学; |
| 申请人名称 | 深圳市和心重典医疗设备有限公司 |
| 申请人地址 | 广东省深圳市南山区南海大道科技大厦201A、202B |
专利法律状态
2016-12-07
授权
状态信息
授权
摘要
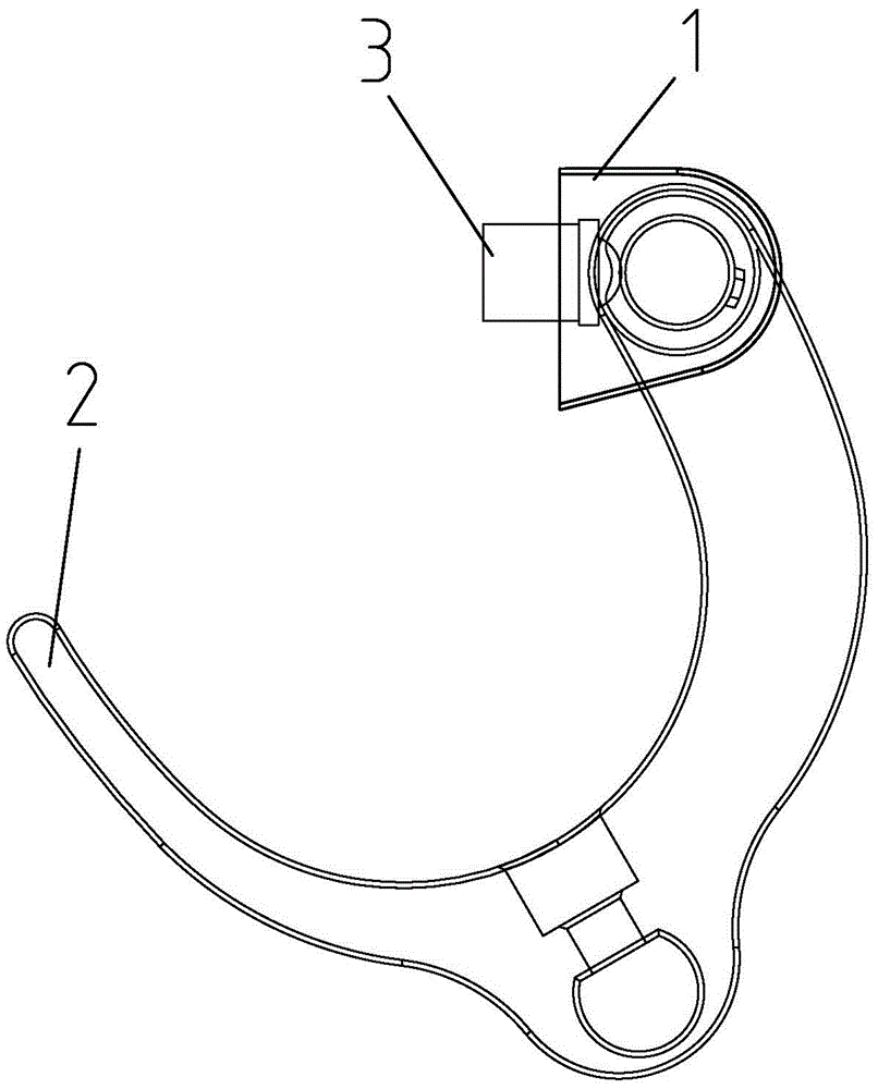
本实用新型公开了一种用于病人监护仪医疗设备的挂钩装置,其包含挂钩座、与该挂钩座铰接的挂钩、用于所述挂钩转动位置固定的定位珠。所述挂钩通过挂钩座旋转,不使用时挂钩旋转到隐藏位置并通过定位珠固定,减少了病人监护仪医疗设备所占的立体空间;使用时可将挂钩打开并可实现多个角度挂靠,扩大了病人监护仪医疗设备挂靠的使用场合。本实用新型结构巧妙、可靠,使用方便。


