授权公布号:CN219083115U
用于焚烧异氰酸酯废液废气的一体化余热锅炉
有效
申请
2022-12-19
申请公布
1970-01-01
授权
2023-05-26
预估到期
2032-12-19
| 申请号 | CN202223396310.9 |
| 申请日 | 2022-12-19 |
| 授权公布号 | CN219083115U |
| 授权公告日 | 2023-05-26 |
| 分类号 | F23G7/04;F23G7/06;F23G5/46;F22B1/18;F22D1/02;F22G7/12 |
| 分类 | 燃烧设备;燃烧方法; |
| 申请人名称 | 苏州海陆重工股份有限公司 |
| 申请人地址 | 江苏省苏州市张家港市东南大道1号苏州海陆重工股份有限公司 |
专利法律状态
2023-05-26
授权
状态信息
授权
摘要
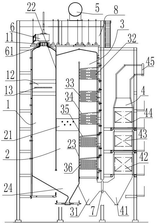
本实用新型公开了用于焚烧异氰酸酯废液废气的一体化余热锅炉,包括:竖向设置、依次连通的第一烟道、第二烟道、第三烟道、第四烟道,第一烟道的顶端设有废液废气入口,第一烟道的顶部设置有燃烧器,燃烧器的喷嘴伸入到第一烟道中,第四烟道的顶部设有烟气出口;第一烟道的烟道壁由外向内分别为水冷壁、耐火材料层,第二烟道、第三烟道的烟道壁均为水冷壁,第二烟道中设有SNCR装置,第三烟道中设有蒸发器、过热器,第四烟道中设有省煤器;废气废液入口下方的第一烟道内设有二次送风区,二次送风区的侧壁上间隔设置有若干送风口。该锅炉能充分焚烧异氰酸酯废液废气。


