授权公布号:CN217096470U
一种砻谷机胶辊更换用辅助装置
有效
申请
2022-02-15
申请公布
1970-01-01
授权
2022-08-02
预估到期
2032-02-15
| 申请号 | CN202220299173.8 |
| 申请日 | 2022-02-15 |
| 授权公布号 | CN217096470U |
| 授权公告日 | 2022-08-02 |
| 分类号 | B23P19/00 |
| 分类 | 机床;不包含在其他类目中的金属加工; |
| 申请人名称 | 浙江齐鲤机械有限公司 |
| 申请人地址 | 浙江省绍兴市诸暨市枫桥镇工业区 |
专利法律状态
2022-08-02
授权
状态信息
授权
摘要
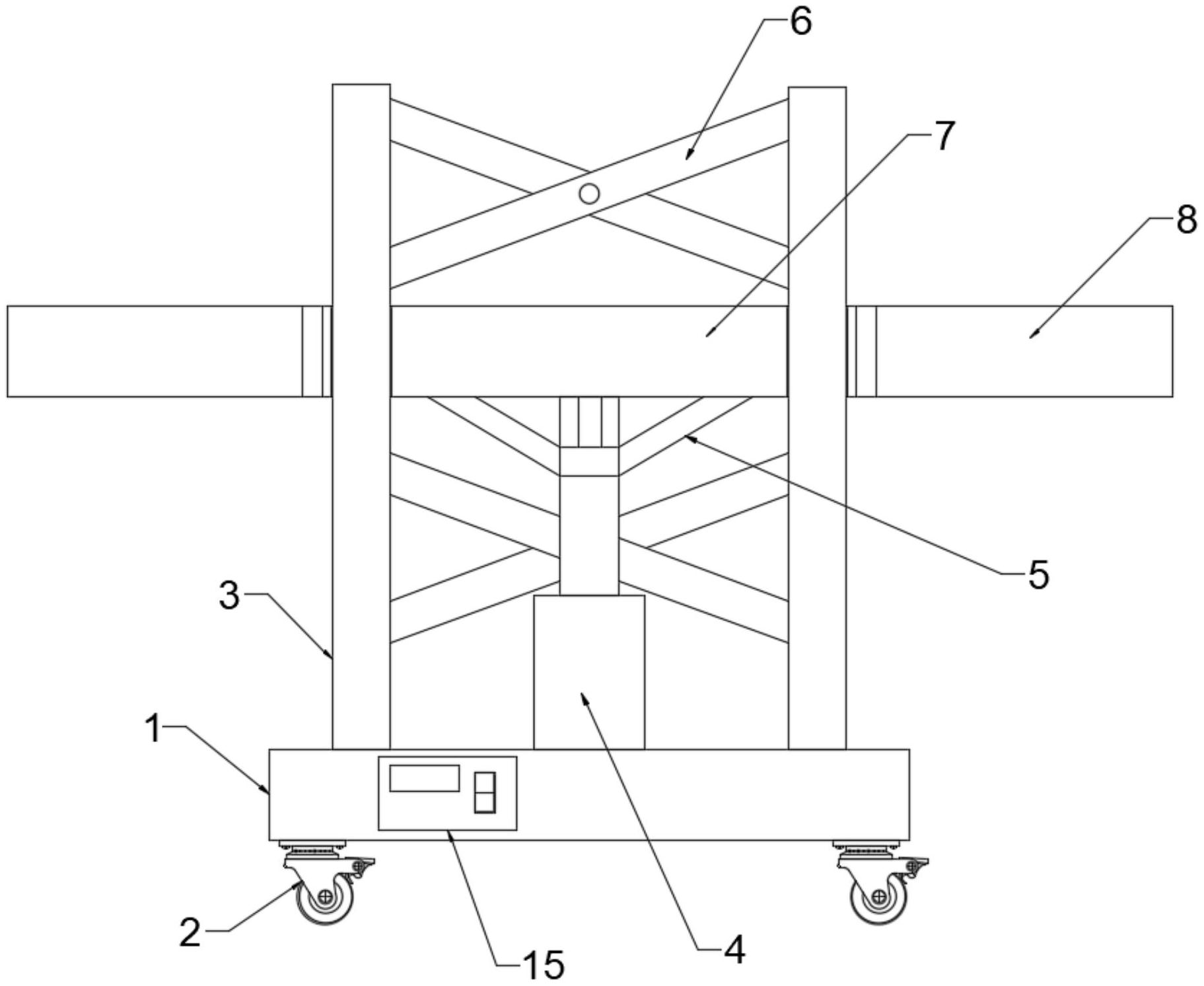
本实用新型涉及砻谷机技术领域,公开了一种砻谷机胶辊更换用辅助装置,包括底板,所述底板的下表面固接有固定脚轮,所述底板的前表面安装有控制器,所述底板的上表面分别固接有立柱和气缸,所述气缸的驱动端固接有支撑板件,所述支撑板件的上部固接有主架,所述主架呈U形,所述主架的U形开口侧的两臂均固接有延伸架,所述主架的上表面设置有防脱组件。通过气缸、主架和压轮,在对胶辊进行调换时,可使胶辊在压轮的表面滚动,并通过转动杆进行阻挡,避免在调换过程中转动设备整体而导致胶辊甩出,对胶辊进行保护,同时也可以避免对周边的调换人员造成伤害,在整个调换过程中,可以不用将拆卸后的胶辊进行搬抬,较为省力。


